LEMON Manuals: Even more car manuals for everyone: 1960-2025
Home >> Jeep >> 2009 >> Commander Overland, 4WD >> Repair and Diagnosis (Single Page) >> Accessories & Equipment >> Anti-Theft Systems >> Intrusion Transceiver Module (ITM) - Electrical Diagnostics >> DTC Troubleshooting >> U1416-Implausible Security Siren Signal Received >> Circuit Schematic
April 5, 2026: LEMON Manuals is launched! Read the announcement.

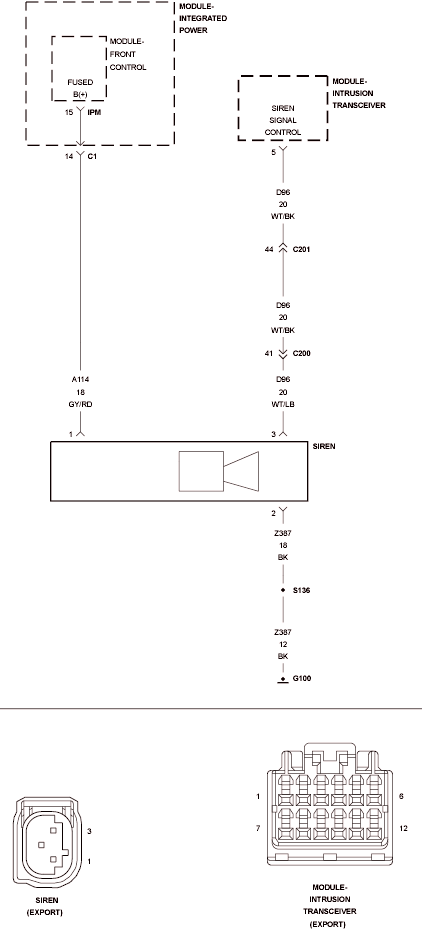
Circuit Schematic

Fig 1: Siren Signal Control Schematic
GC0120255Courtesy of CHRYSLER LLC