LEMON Manuals: Even more car manuals for everyone: 1960-2025
Home >> Jeep >> 2009 >> Commander Overland, 4WD >> Repair and Diagnosis (Single Page) >> Accessories & Equipment >> Memory Modules >> (Cabin Compartment Node (CCN) - Electrical Diagnostics) >> DTC Troubleshooting >> U0161-Lost Communication With Compass Module >> Diagnostic Test
April 5, 2026: LEMON Manuals is launched! Read the announcement.

Diagnostic Test

  1. CHECK FOR AN ACTIVE DTC 
    1. Turn the ignition on.
    2. With the scan tool, record and erase DTCs.
    3. Wait 30 seconds.
    4. With the scan tool, read DTCs.

      Does the scan tool display this DTC as active?

      Yes 

      • Go to step  2

      No 

      • The condition that caused this code to set is not present at this time. Check for an intermittent condition by inspecting the related wiring harness for chafed, pierced, pinched, and partially broken wires. Also inspect the related connectors for broken, bent, pushed out, spread, corroded, or contaminated terminals.
      • Perform the BODY VERIFICATION TEST. Refer to DTC-Based Diagnostics/MODULE, Front Control (FCM) - Standard Procedure .
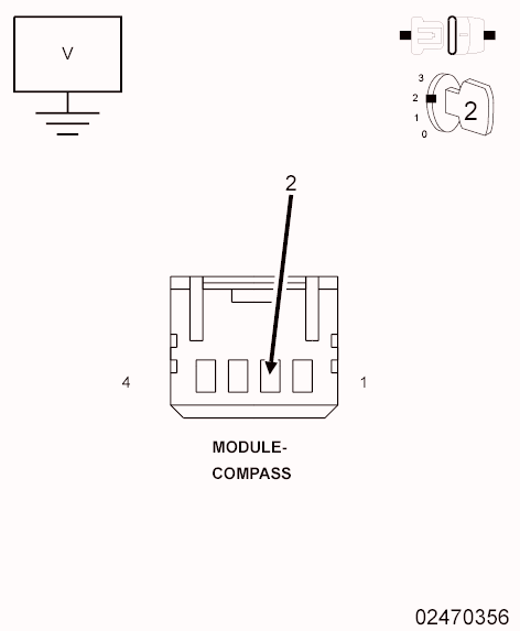
  2. (D500) LIN BUS CIRCUIT OPEN 
    Fig 1: Checking LIN BUS Circuit Open
    GC0132744Courtesy of CHRYSLER LLC
    1. Turn the ignition off.
    2. Disconnect the Compass Module harness connector.
    3. Turn the ignition on.
    4. Measure the voltage of the (D500) LIN BUS circuit.

      Is the voltage above 5 volts?

      Yes 

      • Go to step  4

      No 

      • Go to step  3
  3. (D500) LIN BUS CIRCUIT OPEN 
    Fig 2: Checking LIN BUS Circuit Open
    GC0132745Courtesy of CHRYSLER LLC
    1. Turn the ignition off.
    2. Disconnect the Cluster C1 harness connector.
    3. Measure the resistance of the (D500) LIN BUS circuit.

      Is the resistance below 10K Ohms?

      Yes 

      No 

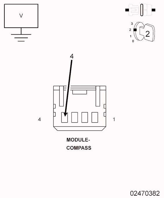
  4. (F921) FUSED RUN RELAY OUTPUT CIRCUIT OPEN 
    Fig 3: Checking Fused Run Relay Output Circuit Open
    GC0132746Courtesy of CHRYSLER LLC
    1. Turn the ignition on.
    2. Measure the voltage of the (F921) Fused Run Relay Output circuit at the Compass Module harness connector.

      Is the voltage above 10 volts?

      Yes 

      • Go to step  5

      No 

  5. (Z915) GROUND CIRCUIT OPEN 
    Fig 4: Checking Ground Circuit Open
    GC0132747Courtesy of CHRYSLER LLC
    1. Turn the ignition off.
    2. Measure the resistance between ground and the (Z915) Ground circuit at the Compass Module harness connector.

      Is the resistance below 10K Ohms?

      Yes 

      No