LEMON Manuals: Even more car manuals for everyone: 1960-2025
Home >> Jeep >> 2009 >> Commander Overland, RWD >> Repair and Diagnosis (Single Page) >> Accessories & Equipment >> Anti-Theft Systems >> Power Liftgate Module (PLGM) - Electrical Diagnostics >> DTC Troubleshooting >> B1969-Power Liftgate Open Direction Excessive Position Sensor Counts >> Diagnostic Test
April 5, 2026: LEMON Manuals is launched! Read the announcement.

Diagnostic Test

  1. DIAGNOSTIC TROUBLE CODE (DTC) PRESENT 
    1. Using the scan tool, record and erase DTCs.
    2. Turn the ignition off, wait 10 seconds, then turn the ignition on.
    3. Operate the Power Liftgate several times from stop to stop if possible.
    4. Using the scan tool, read ACTIVE DIAGNOSTIC TROUBLE CODE (DTC)s.

      Does the scan tool display B1969-POWER LIFTGATE OPEN DIRECTION EXCESSIVE POSITION SENSOR COUNTS?

      Yes 

      • Go to step  2

      No 

  2. BINDING LIFTGATE 
    1. Examine the liftgate for proper alignment, worn or binding hinges, weak liftgate prop assembly, loose/hard weatherstrip, for wear or anything that would cause an obstruction to proper operation.
    2. If necessary manually operate the power liftgate on a known good vehicle and notice the effort needed to open and close for comparison.

      Were there any mechanical problems found?

      Yes 

      No 

      • Go to step  3
  3. POWER LIFTGATE MODULE - POSITION SENSE OPEN 
    1. Operate the liftgate from the full closed position and put an obstacle in its path to make it reverse.

      Did the liftgate reverse back to the closed position?

      Yes 

      • Go to step  4

      No 

  4. (Q51) FULL OPEN SWITCH CIRCUIT OPEN 
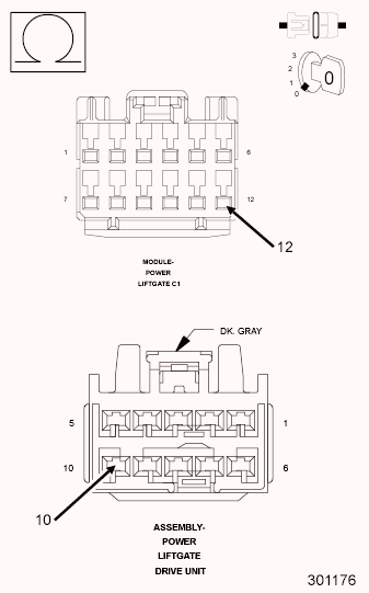
    Fig 1: Checking Full Open Switch Circuit Open
    GC0132658Courtesy of CHRYSLER LLC
    1. Measure the resistance of the (Q51) Full Open Switch circuit between the Power Liftgate Drive Unit connector and the Power Liftgate Module C1 connector.

      Is the resistance below 5.0 Ohms?

      Yes 

      • Go to step  5

      No 

  5. CHECK THE POWER LIFTGATE DRIVE UNIT 
    NOTE: DTC B1969 will set when the position sensor count is 890 or above in open direction. In a normally operating power liftgate system, the position sensor count for fully open is between 820 and 860. Fully closed normal count is 0.
    1. Reconnect the Power Liftgate Drive Unit harness connector.
    2. Turn the ignition on.
    3. Attempt to power open the power liftgate.
    4. Using the scan tool, check the power liftgate position sensor counts.

      Is the power liftgate drive unit position sensor count above 890 with the power liftgate in the full open position, or if the liftgate is closed, is the position count above or below 0 counts?

      Yes 

      No