LEMON Manuals: Even more car manuals for everyone: 1960-2025
Home >> Jeep >> 2009 >> Commander Overland, RWD >> Repair and Diagnosis (Single Page) >> Accessories & Equipment >> Memory Modules >> Memory Seat Module (MSMD) - Electrical Diagnostics >> DTC Troubleshooting >> B1D67-Adjustable Pedal Control Circuit Performance >> Diagnostic Test
April 5, 2026: LEMON Manuals is launched! Read the announcement.

Diagnostic Test

  1. CHECK FOR DTC B1D67-ADJUSTABLE PEDAL CONTROL CIRCUIT PERFORMANCE 
    NOTE: This DTC must be active for the results of this test to be valid.
    1. Turn the ignition on.
    2. With the scan tool, record and erase DTCs.
    3. Cycle the ignition switch from off to on.
    4. Cycle and hold the Adjustable Pedals Switch forward, rearward, and forward at two second intervals.
    5. With the scan tool, read DTCs.

      Does the scan tool display this DTC as active?

      Yes 

      • Go to step  2

      No 

  2. CHECK CONNECTOR/TERMINAL FOR DAMAGE 
    NOTE: Check all terminals for broken, bent, pushed out, or corroded terminals.
    1. Turn the ignition off.
    2. Inspect the Memory Seat Module C1 harness connector, Adjustable Pedals Motor, and Adjustable Pedals Motor harness connector.

      Is the Adjustable Pedals Motor or any of the connectors/terminals damaged?

      Yes 

      No 

      • Go to step  3
  3. CHECK ADJUSTABLE PEDALS ASSEMBLY FOR MECHANICAL DAMAGE 
    1. Turn the ignition off.
    2. Inspect the Adjustable Pedals Assembly for any physical damage.
      NOTE: Check for any conditions that would cause the motor to stall or be stuck.

      Is the Adjustable Pedals Assembly damaged or broken?

      Yes 

      No 

      • Go to step  4
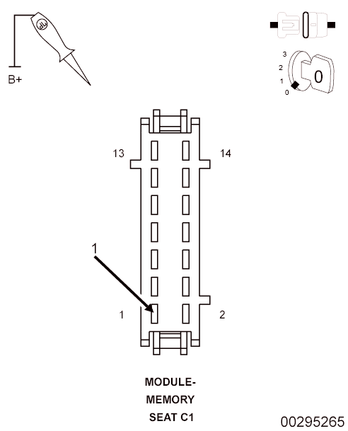
  4. CHECK (P205) ADJUSTABLE PEDALS MOTOR FORWARD CIRCUIT FOR AN OPEN 
    Fig 1: Checking Adjustable Pedals Motor Forward Circuit For An Open
    GC0120282Courtesy of CHRYSLER LLC
    1. Disconnect the Memory Seat Module C1 harness connector.
    2. Disconnect the Adjustable Pedals Motor harness connector
    3. Connect a jumper wire between the (P205) Adjustable Pedals Motor Forward circuit and ground in the Adjustable Pedal Motor harness connector.
    4. Using a 12-volt test light connected to 12-volts, probe the (P205) Adjustable Pedals Motor Forward circuit in the Memory Seat Module C1 harness connector.

      Does the test light illuminate brightly?

      Yes 

      • Go to step  5

      No 

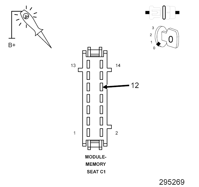
  5. CHECK (P206) ADJUSTABLE PEDALS MOTOR REARWARD CIRCUIT FOR AN OPEN 
    Fig 2: Checking Adjustable Pedals Motor Rearward Circuit For An Open
    GC0120283Courtesy of CHRYSLER LLC
    1. Connect a jumper wire between the Adjustable Pedals Motor Rearward circuit and ground in the Adjustable Pedals Motor harness connector.
    2. Using a 12-volt test light connected to 12-volts, probe the (P206) Adjustable Pedals Motor Rearward circuit in the Memory Seat Module C1 harness connector.

      Does the test light illuminate brightly?

      Yes 

      • Go to step  6

      No 

  6. CHECK (G912) SENSOR RETURN CIRCUIT FOR AN OPEN 
    Fig 3: Checking Sensor Return Circuit For An Open
    GC0120284Courtesy of CHRYSLER LLC
    1. Connect a jumper wire between the (G912) Sensor Return circuit and ground in the Adjustable Pedal Motor harness connector.
    2. Using a 12-volt test light connected to 12-volts, probe the (G912) Sensor Return circuit at the Memory Seat Module C1 harness connector.

      Does the test light illuminate brightly?

      Yes 

      • Go to step  7

      No 

  7. CHECK ADJUSTABLE PEDALS MOTOR 
    Fig 4: Checking Adjustable Pedals Motor
    GC0120285Courtesy of CHRYSLER LLC
    1. Measure the resistance between the (P205) Adjustable Pedals Motor Forward and (P206) Adjustable Pedals Motor Rearward terminals at the Adjustable Pedals Motor.

      Is the resistance below 100.0 ohms?

      Yes 

      No