LEMON Manuals: Even more car manuals for everyone: 1960-2025
Home >> Jeep >> 2009 >> Commander Overland, RWD >> Repair and Diagnosis (Single Page) >> Body & Frame >> Seats >> Memory Seat Module (MSMD) - Electrical Diagnostics >> DTC Troubleshooting >> B1D7B-Seat Horizontal Motor Control Circuit Performance >> Notes
April 5, 2026: LEMON Manuals is launched! Read the announcement.

B1D7B-Seat Horizontal Motor Control Circuit Performance: Notes

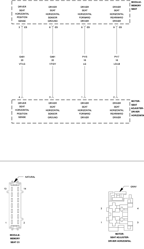
Fig 1: Driver Seat Horizontal Position Sense Circuit Schematic
GC0097032Courtesy of CHRYSLER LLC