Diagnostic Test
- CHECK FOR RELATED DIAGNOSTIC TROUBLE CODES
- Turn the ignition on.
- With the scan tool, read DTC's.
Does the scan tool display any seat position sensor DTC's?
Yes
- Diagnose and repair other DTC(s) first. See DTC-Based Diagnostics/MODULE, Memory Seat (MSMD) - Diagnosis and Testing .
No
- Go to step 2
- TEST FOR INTERMITTENT CONDITION
- Turn the ignition on.
- With the scan tool, record and erase DTC's
- Move the Seat Switch in the Front Vertical position three times.
- With the scan tool, read DTC's.
Does the scan tool display B1D7F-SEAT FRONT VERTICAL MOTOR CONTROL CIRCUIT PERFORMANCE?
Yes
- Go to step 3
No
- The conditions that caused this code to set are not present at this time. Using the SYSTEM WIRING DIAGRAMS as a guide, inspect the wiring and connectors.
- Perform POWER SEAT SYSTEM VERIFICATION TEST. See DTC-Based Diagnostics/MODULE, Memory Seat (MSMD) - Standard Procedure .
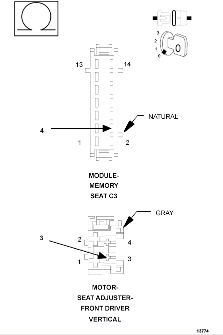
- CHECK THE (G404) DRIVER SEAT FRONT VERTICAL POSITION SENSE VOLTAGE
- Disconnect the Front Driver Vertical Seat Adjuster Motor.NOTE: Check connectors - Clean and repair as necessary.
- Move the Seat Switch in the front vertical position during the next step.
- Using a 12-volt test light connect one lead to the (G404) Driver Seat Front Vertical Position Sense circuit and the other lead to Driver Seat Front Vertical Sensor Ground at the Driver Front Vertical Seat Adjuster Motor connector.
Does the test light illuminate for approximately two seconds then turn off with the seat switch engaged?
Yes
- Go to step 4
No
- Go to step 5
- Disconnect the Front Driver Vertical Seat Adjuster Motor.
- CHECK THE DRIVER SEAT FRONT VERTICAL UP/DOWN DRIVER VOLTAGE
- Move the Seat Switch in the front vertical position during the next step.
- Using a 12-volt test light connect one lead to the (G119) Driver Seat Front Vertical Up Driver circuit and the other lead to (P121) Driver Seat Front Vertical Down Driver circuit at the Front Driver Vertical Seat Adjuster Motor connector.
Does the test light illuminate with the seat switch engaged?
Yes
- Replace the Front Driver Vertical Seat Adjuster motor assembly in accordance with the Service Information.
- Perform POWER SEAT SYSTEM VERIFICATION TEST. See DTC-Based Diagnostics/MODULE, Memory Seat (MSMD) - Standard Procedure .
No
- Go to step 7
- CHECK THE (G404) DRIVER SEAT FRONT VERTICAL POSITION SENSE WIRE FOR AN OPEN
- Disconnect the Memory Seat Module C3 connector.NOTE: Check connectors - Clean and repair as necessary.
- Measure the resistance of the (G404) Driver Seat Front Vertical Position Sense circuit at the Front Driver Vertical Seat Adjuster Motor connector to the C3 connector.
Is the resistance above 1.0 ohm?
Yes
- Repair the (G404) Driver Seat Front Vertical Position Sense circuit for an open.
- Perform POWER SEAT SYSTEM VERIFICATION TEST. See DTC-Based Diagnostics/MODULE, Memory Seat (MSMD) - Standard Procedure .
No
- Go to step 6
- Disconnect the Memory Seat Module C3 connector.
- CHECK THE (G494) DRIVER SEAT FRONT VERTICAL SENSOR GROUND FOR AN OPEN
- Measure the resistance of the (G494) Driver Seat Front Vertical Sensor Ground circuit at the Driver Front Vertical Seat Adjuster Motor connector to the C3 connector.
Is the resistance above 1.0 ohm?
Yes
- Repair the (G494) Driver Seat Front Vertical Senor Ground circuit for an open.
- Perform POWER SEAT SYSTEM VERIFICATION TEST. See DTC-Based Diagnostics/MODULE, Memory Seat (MSMD) - Standard Procedure .
No
- Replace the Memory Seat Module in accordance with the Service Information.
- Perform POWER SEAT SYSTEM VERIFICATION TEST. See DTC-Based Diagnostics/MODULE, Memory Seat (MSMD) - Standard Procedure .
- Measure the resistance of the (G494) Driver Seat Front Vertical Sensor Ground circuit at the Driver Front Vertical Seat Adjuster Motor connector to the C3 connector.
- CHECK THE (P119) DRIVER SEAT FRONT VERTICAL UP DRIVER WIRE FOR AN OPEN
- Disconnect the Memory Seat Module C3 connector.NOTE: Check connectors - Clean and repair as necessary.
- Measure the resistance of the (P119) Driver Seat Front Vertical Up Driver circuit at the Driver Front Vertical Seat Adjuster Motor connector to the C3 connector.
Is the resistance above 1.0 ohm?
Yes
- Repair the (P119) Driver Seat Front Vertical Up Driver circuit for an open.
- Perform POWER SEAT SYSTEM VERIFICATION TEST. See DTC-Based Diagnostics/MODULE, Memory Seat (MSMD) - Standard Procedure .
No
- Go to step 8
- Disconnect the Memory Seat Module C3 connector.
- CHECK THE (P121) DRIVER SEAT FRONT VERTICAL DOWN DRIVER FOR AN OPEN
- Measure the resistance of the (P121) Driver Seat Front Vertical Down Driver circuit at the Driver Front Vertical Seat Adjuster Motor connector to the C3 connector.
Is the resistance above 1.0 ohm?
Yes
- Repair the (P121) Driver Seat Front Vertical Down Driver circuit for an open.
- Perform POWER SEAT SYSTEM VERIFICATION TEST. See DTC-Based Diagnostics/MODULE, Memory Seat (MSMD) - Standard Procedure .
No
- Replace the Memory Seat Module in accordance with the Service Information.
- Perform POWER SEAT SYSTEM VERIFICATION TEST. See DTC-Based Diagnostics/MODULE, Memory Seat (MSMD) - Standard Procedure .
- Measure the resistance of the (P121) Driver Seat Front Vertical Down Driver circuit at the Driver Front Vertical Seat Adjuster Motor connector to the C3 connector.