LEMON Manuals: Even more car manuals for everyone: 1960-2025
Home >> Jeep >> 2009 >> Compass Limited, ED3, AWD, Standard >> Repair and Diagnosis (Single Page) >> Restraints >> Restraints Control Systems >> Air Bag Restraint System - Electrical Diagnostics >> DTC Troubleshooting >> B212C-Ignition Run/Start Input Circuit Open >> Notes
April 5, 2026: LEMON Manuals is launched! Read the announcement.

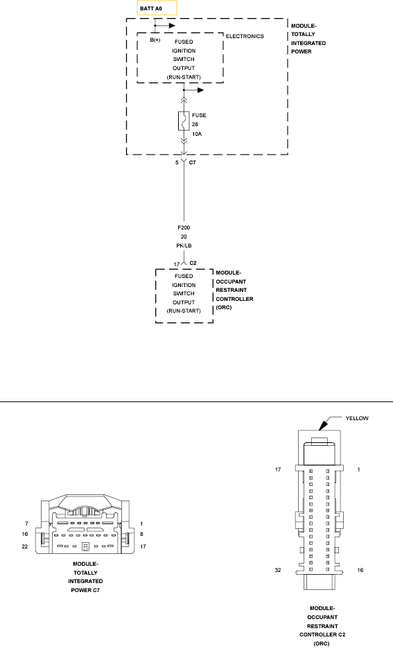
B212C-Ignition Run/Start Input Circuit Open: Notes

Fig 1: Ignition Run/Start Input Circuit
GC0099302Courtesy of CHRYSLER LLC