LEMON Manuals: Even more car manuals for everyone: 1960-2025
Home >> Jeep >> 2011 >> Liberty Renegade, Part Time >> Repair and Diagnosis (Single Page) >> Accessories & Equipment >> Anti-Theft Systems >> Intrusion Transceiver Module (ITM) - Electrical Diagnostics >> DTC Troubleshooting >> B1A42-Security Transmitter Sensor Circuit Shorted Together >> Notes
April 5, 2026: LEMON Manuals is launched! Read the announcement.

B1A42-Security Transmitter Sensor Circuit Shorted Together: Notes

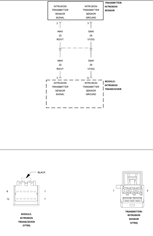
Fig 1: Security Transmitter Sensor (VTSS) Wiring Diagram
GC0151771Courtesy of CHRYSLER LLC

For a complete wiring diagram, refer to appropriate SYSTEM WIRING DIAGRAMS article  .