LEMON Manuals: Even more car manuals for everyone: 1960-2025
Home >> Jeep >> 2011 >> Liberty Renegade, Part Time >> Repair and Diagnosis (Single Page) >> Accessories & Equipment >> Communication Devices >> Communication - Non-DTC Based Diagnostics >> Diagnosis and Testing >> No Response From OCM (Occupant Classification Module) >> Diagnostic Test
April 5, 2026: LEMON Manuals is launched! Read the announcement.

Diagnostic Test

  1. TEST FOR INTERMITTENT CONDITION 
    NOTE:

    Check for any TSB(s) related to the condition. If a TSB applies, perform the procedure outlined in the TSB before continuing.

    1. Turn the ignition on.
      NOTE:

      Ensure the IOD fuse is installed and battery voltage is between 10.0 and 16.0 volts.

    2. With the scan tool, select ECU View.
      NOTE:

      A red "X" will be next to the module that is not communicating, indicating that the module is not active on the BUS network. A green check indicates that the module is active on the BUS network.

      Does the scan tool display a red "X" next to the module?

      Yes 

      • Go To  2.

      No 

      • The no response condition is not present at this time. Using the wiring diagram as a guide, inspect the wiring for chafed, pierced, pinched, and partially broken wires and the wiring harness connectors for broken, bent, pushed out, and corroded terminals.
  2. (Z913) GROUND CIRCUIT OPEN 
    Fig 1: Checking Ground Circuit For Open
    GC0102376Courtesy of CHRYSLER LLC
    1. Disconnect the Occupant Classification Module harness connectors.
    2. Using a 12-volt test light connected to 12-volts, check the (Z913) ground circuit.

      Does the test light illuminate brightly?

      Yes 

      • Go To  3.

      No 

      • Repair the (Z913) ground circuit for an open.
      • Perform the AIRBAG SYSTEM VERIFICATION TEST. Refer to Standard Procedure .
  3. (A27) FUSED B+ CIRCUIT OPEN OR SHORTED 
    Fig 2: Checking Fused B+ Circuit For Open Or Short
    GC0102377Courtesy of CHRYSLER LLC
    1. Using a 12-volt test light connected to ground, check the (A27) Fused B+ circuit.

      Does the test light illuminate brightly?

      Yes 

      • Go To  4.

      No 

      • Repair the (A27) Fused B+ circuit for an open or short.
      • Perform the AIRBAG SYSTEM VERIFICATION TEST. Refer to Standard Procedure .
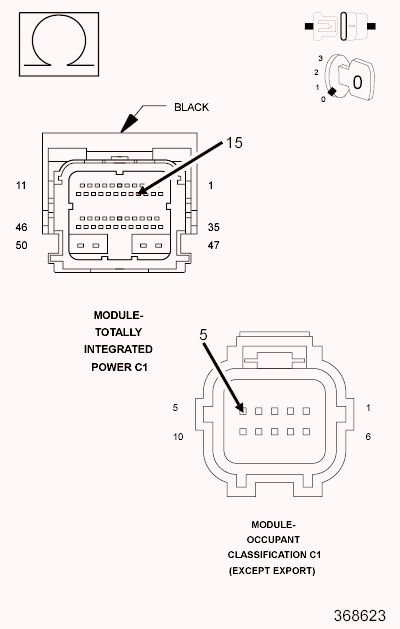
  4. (D65) CAN C BUS (+) CIRCUIT OPEN 
    Fig 3: Checking CAN C BUS (+) Circuit For Open
    GC0102378Courtesy of CHRYSLER LLC
    1. Turn the ignition off.
    2. Disconnect the TIPM C1 harness connector.
    3. Measure the resistance of the (D65) CAN C BUS (+) circuit between the TIPM C1 harness connector and the Occupant Classification Module connector.

      Is resistance below 5.0 ohms?

      Yes 

      • Go To  5.

      No 

      • Repair the (D65) CAN C BUS (+) circuit for an open.
      • Perform the AIRBAG SYSTEM VERIFICATION TEST. Refer to Standard Procedure .
  5. (D64) CAN C BUS (-) CIRCUIT OPEN 
    Fig 4: Checking CAN C BUS (-) Circuit For Open
    GC0102379Courtesy of CHRYSLER LLC
    1. Measure the resistance of the (D64) CAN C BUS (-) circuit between the TIPM C1 harness connector and the Occupant Classification Module connector.

      Is resistance below 5.0 ohms?

      Yes 

      • Replace the Occupant Classification Module in accordance with the Service Information.
      • Perform the AIRBAG SYSTEM VERIFICATION TEST. Refer to Standard Procedure .

      No 

      • Repair the (D64) CAN C BUS (-) circuit for an open.
      • Perform the AIRBAG SYSTEM VERIFICATION TEST. Refer to Standard Procedure .