LEMON Manuals: Even more car manuals for everyone: 1960-2025
Home >> Jeep >> 2012 >> Compass 2WD L4-2.4L >> Repair and Diagnosis >> Body and Frame >> Service and Repair >> Plastic Body Panel Repair
April 5, 2026: LEMON Manuals is launched! Read the announcement.

Plastic Body Panel Repair






PLASTIC BODY PANEL REPAIR

There are many different types of plastics used in today's automotive environment. We group plastics in three different categories: Rigid, Semi-Rigid, and Flexible. Any of these plastics may require the use of an adhesion promoter for repair. These types of plastic are used extensively on Chrysler LLC vehicles. Always follow repair material manufacturer's plastic identification and repair procedures.

Rigid Plastics:

Examples of rigid plastic use: Fascias, Hoods, Doors, and other Body Panels, which include SMC, ABS, and Polycarbonates.

Semi-Rigid Plastics:

Examples of semi-rigid plastic use: Interior Panels, Under Hood Panels, and other Body Trim Panels.

Flexible Plastics:

Examples of flexible plastic use: Fascias, Body Moldings, and upper and lower Fascia Covers.

Repair Procedure:

The repair procedure for all three categories of plastics is basically the same. The one difference is the material used for the repair. The materials must be specific for each substrate, rigid repair material for rigid plastic repair, semi-rigid repair material for semi-rigid plastic repair and flexible repair material for flexible plastic repair.

Adhesion Promoter/Surface Modifier:

Adhesion Promoters/Surface Modifiers are required for certain plastics. All three categories may have plastics that require the use of adhesion promoter/surface modifiers. Always follow repair material manufacturer's plastic identification and repair procedures.

SAFETY PRECAUTION AND WARNINGS

WARNING:
- Eye protection should be used when servicing components. Personal injury can result.
- Use an OSHA approved breathing mask when mixing epoxy, grinding, and spraying paint or solvents in a confined area. Personal injury can result.
- Avoid prolonged skin contact with resin, petroleum, or alcohol based solvents. Personal injury can result.
- Do not venture under a hoisted vehicle that is not properly supported on safety stands. Personal injury can result.

WARNING: Failure to follow these instructions may result in serious or fatal injury.

NOTE:
- When holes must be drilled or cut in body panels, verify locations of internal body components and electrical wiring. Damage to vehicle can result.
- Do not use abrasive chemicals or compounds on undamaged painted surfaces around repair areas. Damage to finish can result.

RIGID, SEMI-RIGID, AND FLEXIBLE PLASTIC PARTS TYPES









PANEL SECTIONING










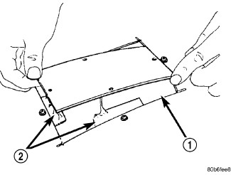
If it is required to section a large panel for a plastic repair, it will be necessary to reinforce the panel. To bond two plastic panels together, a reinforcement must overlap both panels. The panels must be "V'd" at a 20 degree angle. The area to be reinforced should be washed, then sanded. Be sure to wipe off any excess soap and water when finished. Lightly sand or abrade the plastic with an abrasive pad or sandpaper. Blow off any dust with compressed air or wipe with a clean dry rag.

When bonding plastic panels, follow repair material manufacturers recommendations. Be sure that enough adhesive has been applied to allow squeeze out and to fill the full bond line. Once the pieces have been brought together, do not move them until the adhesive is cured. The assembly can be held together with clamps, rivets, etc. A faster cure can be obtained by heating with a heat lamp or heat gun. After the parts have been bonded and have had time to cure, rough sand the seam and apply the final adhesive filler to the area being repaired. Smooth the filler with a spreader, wooden tongue depressor, or squeegee. For fine texturing, a small amount of water can be applied to the filler surface while smoothing. The cured filler can be sanded as necessary and, as a final step, cleanup can be done with soapy water. Wipe the surface clean with a dry cloth allowing time for the panel to dry before moving on with the repair.

PANEL REINFORCEMENT










Structural repair procedures for rigid panels with large cracks and holes will require a reinforcement backing. Reinforcements can be made with several applications of glass cloth saturated with structural adhesive. Semi-rigid or flexible repair materials should be used for semi-rigid or flexible backing reinforcement and open meshed fiberglass dry wall tape can be used to form a reinforcement. The dry wall tape allows the resin to penetrate through and make a good bond between the panel and the adhesive. Structurally, the more dry wall tape used, the stronger the repair.










Another kind of repair that can be done to repair large cracks and holes is to use a scrap piece of similar plastic and bond with structural adhesive. The reinforcement should cover the entire break and should have a generous amount of overlap on either side of the cracked or broken area.





When repairing plastic, the damaged area is first "V'd" out, or beveled. Large bonding areas are desirable when repairing plastic because small repairs are less likely to hold permanently. Beveling the area around a crack at a 20° angle will increase the bonding surface for a repair. It is recommended that sharp edges be avoided because the joint may show through after the panel is refinished.





- Panel repair for both flexible and rigid panels are basically the same. The primary difference between flexible panel repair and rigid panel repair is in the adhesive materials used.

- The technician should first decide what needs to be done when working on any type of body panel. One should determine if it is possible to return the damage part to its original strength and appearance without exceeding the value of the replacement part.

- When plastic repairs are required, it is recommended that the part be left on the vehicle when ever possible. That will save time, and the panel will remain stationary during the repair. Misalignment can cause stress in the repair areas and can result in future failure.

VISUAL INSPECTION










Composite materials can mask the severity of an accident. Adhesive bond lines, interior structure of the doors, and steel structures need to be inspected carefully to get a true damage assessment. Close inspection may require partial removal of interior trim or inner panels.

Identify the type of repair: Puncture (1) or Crack - Damage that has penetrated completely through the panel. Damage is confined to one general area; a panel section is not required. However, a backer panel, open fiberglass tape, or matted material must be bonded from behind.

PANEL SURFACE PREPARATION

If a body panel has been punctured, cracked, or crushed, the damaged area must be removed from the panel to achieve a successful repair. All spider web cracks leading away from a damaged area must be stopped or removed. To stop a running crack in a panel, drill a 6 mm (0.250 in.) hole at the end of the crack farthest away from the damage. If spider web cracks can not be stopped, the panel would require replacement. The surfaces around the damaged area should be stripped of paint and freed from wax and oil. Sand surfaces around repair area with 80 -120 grit sandpaper, or equivalent, to assure adhesion of repair materials.

PATCHING PANELS










A panel that has extensive puncture type damage can be repaired by cutting out the damaged material. Use a suitable reciprocating saw or cut off wheel to remove the section of the panel that is damaged. The piece cut out can be used as a template to shape the new patch. It is not necessary to have access to the back of the panel to install a patch. Bevel edges of cutout at 20° to expose a larger bonding area on the outer side. This will allow for an increased reinforcement areas.

PANEL PATCH FABRICATIONS










A patch can be fabricated from any rigid fiberglass panel that has comparable contour with the repair area. Lift gates and fenders can be used to supply patch material. If existing material is not available or compatible, a patch can be constructed with adhesive and reinforcement mesh (dry wall tape). Perform the following operation if required:

1. Cover waxed paper or plastic with adhesive backed nylon mesh (dry wall tape) larger than the patch required.
2. Tape waxed paper or plastic sheet with mesh to a surface that has a compatible contour to the repair area.
3. Apply a liberal coat of adhesive over the reinforcement mesh. If necessary apply a second or third coat of adhesive and mesh after first coat has cured. The thickness of the patch should be the same as the repair area.
4. After patch has cured, peel waxed paper or plastic from the back of the patch.
5. If desired, a thin film coat of adhesive can be applied to the back of the patch to cover mesh for added strength.

PANEL PATCH INSTALLATION










1. Make a paper or cardboard pattern the size and shape of the cutout hole in the panel.
2. Trim 3 mm (0.125 in.) from edges of pattern so patch will have a gap between connecting surfaces.
3. Using the pattern as a guide, cut the patch to size.
4. Cut scrap pieces of patch material into 50 mm (2 in.) squares to use as patch supports to sustain the patch in the cutout.
5. Drill 4 mm (0.160 in.) holes 13 mm (0.5 in.) in from edge of cutout hole.
6. Drill 4 mm (0.160 in.) holes 13 mm (0.5 in.) away from edge of patch across from holes drilled around cutout.
7. Drill 3 mm (0.125 in.) holes in the support squares 13 mm (0.5 in.) from the edge in the center of one side.
8. Scuff the backside of the body panel around the cutout hole with a scuff pad or sandpaper.
9. Mix enough adhesive to cover one side of all support squares.
10. Apply adhesive to cover one side of all support squares.
11. Using number 8 sheet metal screws, secure support squares to back side of body panel with adhesive sandwiched between the panel and squares.










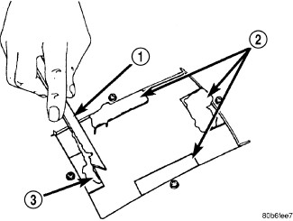
12. Position patch in cutout (1) against support squares (2) and adjust patch until the gap is equal along all sides.
13. Drill 3 mm (0.125 in.) holes in the support squares through the pre-drilled holes in the patch.










14. Apply a coat of adhesive (3) to the exposed ends of the support squares (2).










15. Install screws to hold the patch (1) to support squares. Tighten screws until patch surface is flush with panel surface.
16. Allow adhesive to cure, and remove all screws.










17. Using a 125 mm (5 in.) 24 grit disc grinder (3), grind a 50 mm (2 in.) to 75 mm (3 in.) wide and 75% -80% deep (original material thickness) path across the gaps (2) around the patch (1). With compressed air, blow dust from around patch.










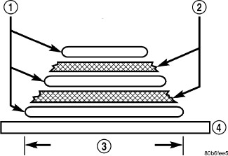
18. Apply adhesive backed nylon mesh (dry wall tape) over gaps around patch.
19. Mix enough adhesive to cover the entire patch area.










20. Apply adhesive over the mesh around patch, and smooth epoxy with a wide spreader to reduce finish grinding. Use two to three layers of mesh and adhesive to create a stronger repair.

PATCHED PANEL SURFACING

After patch panel is installed, the patch area can be finished using the same methods as finishing other types of body panels. If mesh material is exposed in the patched area, grind surface down, and apply a coat of high quality rigid plastic body filler. Prime, block sand, and paint as required.