LEMON Manuals: Even more car manuals for everyone: 1960-2025
Home >> Jeep >> 2012 >> Wrangler Rubicon, Automatic Trans >> Repair and Diagnosis (Single Page) >> Accessories & Equipment >> Communication Devices >> Totally Integrated Power Module (TIPM) - Electrical Diagnostics >> Diagnosis And Testing >> U0168-Lost Communication With Vehicle Security Control Module (WCM) >> Notes
April 5, 2026: LEMON Manuals is launched! Read the announcement.

U0168-Lost Communication With Vehicle Security Control Module (WCM): Notes

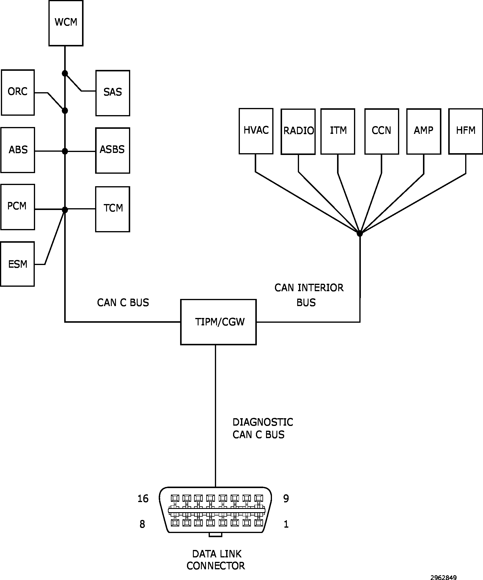
Fig 1: CAN C Bus Circuit Module Diagram
GC0151886Courtesy of CHRYSLER GROUP, LLC

For a complete wiring diagram, refer to appropriate SYSTEM WIRING DIAGRAMS article  .