LEMON Manuals: Even more car manuals for everyone: 1960-2025
Home >> Jeep >> 2012 >> Wrangler Rubicon, Automatic Trans >> Repair and Diagnosis (Single Page) >> Restraints >> Restraints Control Systems >> Occupant Restraint Controller (Orc) - DTCS B1C3A To U1415 >> Diagnosis And Testing >> U0168-Lost Communication With Vehicle Security Control Module (SKREEM/WCM) >> Notes
April 5, 2026: LEMON Manuals is launched! Read the announcement.

U0168-Lost Communication With Vehicle Security Control Module (SKREEM/WCM): Notes

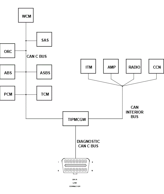
Fig 1: CAN C & CAN Interior BUS Module Diagram
GC0131826Courtesy of CHRYSLER GROUP, LLC

For a complete wiring diagram, refer to appropriate SYSTEM WIRING DIAGRAMS article  .