LEMON Manuals: Even more car manuals for everyone: 1960-2025
Home >> Jeep >> 2014 >> Compass Limited, AWD, Automatic Trans >> Repair and Diagnosis >> External Pages >> Different car >> Section 185 (Intrusion Transceiver Module (ITM) - Electrical Diagnostics) >> DTC Troubleshooting >> U110D-Lost Communication With Security Siren >> Diagnostic Test
April 5, 2026: LEMON Manuals is launched! Read the announcement.

Diagnostic Test

WARNING: This page is about a different car, the 2012 Jeep Liberty. However, it is still accessible from the selected car via links, so may be relevant.
  1. INTERMITTENT DTC 
    1. With the scan tool, erase the current Intrusion Transceiver Module DTCs.
    2. Turn the ignition off.
    3. Arm the VTSS and wait 1 minute.
    4. Disarm the VTSS and turn the ignition on.

      Does the scan tool display the same DTC?

      Yes 

      • Go To  2.

      No 

      • Test complete, the condition or conditions that originally set this DTC are not present at this time. Using the wiring diagrams as a guide, check all related splices and connectors for signs of water intrusion, corrosion, pushed out or bent terminals, and correct pin tension.
      • Refer to STANDARD PROCEDURE and perform the BODY VERIFICATION TEST.
  2. (A412) FUSED B+ OPEN 
    Fig 1: Checking Fused B(+) Circuit For Open
    GC0101725Courtesy of CHRYSLER GROUP, LLC
    1. Gain access to the VTSS Siren.
    2. Disconnect the Siren harness connector.
    3. Using a 12-volt test light connected to ground, check the (A412) Fused B(+) circuit in the Siren harness connector.

      Does the test light illuminate brightly?

      Yes 

      • Go To  3.

      No 

      • Repair the (A412) Fused B+ circuit for an open.
      • Refer to STANDARD PROCEDURE and perform the BODY VERIFICATION TEST.
  3. (Z911) GROUND CIRCUIT OPEN 
    Fig 2: Checking Siren Ground Circuit For Open
    GC0101726Courtesy of CHRYSLER GROUP, LLC
    1. Using a 12-volt test light connected to 12-volts, check the (Z911) Ground circuit at the siren connector.

      Does the test light illuminate brightly?

      Yes 

      • Go To  4.

      No 

      • Repair the (Z911) Ground circuit for an open.
      • Refer to STANDARD PROCEDURE and perform the BODY VERIFICATION TEST.
  4. FAULTY SIREN 
    Fig 3: Checking For Faulty Siren
    GC0101741Courtesy of CHRYSLER GROUP, LLC
    1. Use the DRBIII® and set up as follows:
      • Use the Scope input cable CH7058, Cable to Probe adapter CH7062, and the red and black test probes.
      • Connect the scope input cable to the channel one connector on the DRBIII®. Attach the red and black leads and the cable to probe adapter to the scope input cable.
      • Select DRBIII® Stand-alone.
      • Select lab scope.
      • Select Live.
      • Select 12 volt square wave.
      • Press F2 for Scope.
      • Press F2 and use the down arrow to set voltage range to 20 volts. Press F2 again when complete.
    2. Disconnect the Siren connector.
    3. Connect the black lead to the chassis ground. Connect the red lead to the (D96) Siren Signal Control circuit in the Siren connector.
    4. Close all doors and arm the VTSS.
    5. Observe the voltage displayed on the DRBIII® Lab Scope.

      Is there a voltage square wave present 1 to 2 seconds?

      Yes 

      • Connect a known good siren and try to reset the DTC. If the DTC does not reset the original siren needs to be replaced. If the DTC does reset replace the Intrusion Transceiver Module in accordance with the Service Information.
      • Refer to STANDARD PROCEDURE and perform the BODY VERIFICATION TEST.

      No 

      • Go To  5.
  5. (D96) SIREN SIGNAL CONTROL CIRCUIT SHORTED TO BATTERY 
    Fig 4: Checking Siren Signal Control Circuit For Short To Battery
    GC0101742Courtesy of CHRYSLER GROUP, LLC
    1. Disconnect the Siren harness connector.
    2. Measure the voltage of the (D96) Siren Signal Control circuit.

      Is there any voltage present?

      Yes 

      • Repair the (D96) Siren Signal Control circuit for a short to voltage.
      • Refer to STANDARD PROCEDURE and perform the BODY VERIFICATION TEST.

      No 

      • Go To  6.
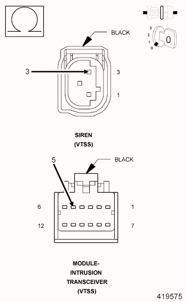
  6. (D96) SIREN SIGNAL CONTROL CIRCUIT SHORTED TO GROUND 
    Fig 5: Checking Siren Signal Control Circuit For Short To Ground
    GC0101743Courtesy of CHRYSLER GROUP, LLC
    1. Disconnect the Siren harness connector.
    2. Disconnect the Intrusion Transceiver Module harness connector.
    3. Measure the resistance between ground and the (D96) Siren Signal Control circuit.

      Is the resistance above 5.0 Ohms?

      Yes 

      • Go To  7.

      No 

      • Repair the (D96) Siren Signal Control circuit for a short to ground.
      • Refer to STANDARD PROCEDURE and perform the BODY VERIFICATION TEST.
  7. (D96) SIREN SIGNAL CONTROL CIRCUIT OPEN 
    Fig 6: Checking Siren Signal Control Circuit For Open
    GC0101744Courtesy of CHRYSLER GROUP, LLC
    1. Disconnect the Intrusion Transceiver Module harness connector.
    2. Measure the resistance of the (D96) Siren Signal Control circuit between the Intrusion Transceiver Module and the Siren connector.

      Is the resistance below 5.0 Ohms?

      Yes 

      • Replace the Intrusion Transceiver Module in accordance with the Service Information.
      • Refer to STANDARD PROCEDURE and perform the BODY VERIFICATION TEST.

      No 

      • Repair the (D96) Siren Signal Control circuit for an open.
      • Refer to STANDARD PROCEDURE and perform the BODY VERIFICATION TEST.