LEMON Manuals: Even more car manuals for everyone: 1960-2025
Home >> Jeep >> 2017 >> Wrangler Rubicon, Automatic Trans >> Repair and Diagnosis (Single Page) >> Restraints >> Restraints Control Systems >> (Occupant Restraint Controller (Orc) - Electrical Diagnostics) >> DTC Troubleshooting >> B212C-Ignition Run/Start Input Circuit Open >> Diagnostic Test
April 5, 2026: LEMON Manuals is launched! Read the announcement.

Diagnostic Test

  1. VERIFY ACTIVE DTC 
    NOTE:

    Make sure the battery is fully charged.

    1. Turn the ignition on.
    2. Wait 10 seconds.
    3. With the scan tool, read ORC DTC.

      Does the scan tool display active B212C-IGNITION RUN/START INPUT CIRCUIT OPEN DTC?

      Yes 

      • Go To  2

      No 

      • Go To  9
  2. INSPECT AIRBAG RUN-START FUSE 
    1. Turn the ignition off.
    2. Remove the Airbag Run-Start TIPM Fuse M16 from the TIPM and inspect the fuse.
      NOTE:

      Check connectors - Clean and repair as necessary.

      Is the Run/Start fuse open?

      Yes 

      • Go To  3

      No 

      • Go To  6
  3. CHECK (F201) FUSED RUN/START RELAY OUTPUT (RUN-START) CIRCUIT RESISTANCE 
    GC0131817Courtesy of CHRYSLER GROUP, LLC
    1. Measure the resistance of the (F201) Fused Run/Start Relay Output circuit between the Airbag Run-Start Fuse M16 (output side) terminal and ground.

      Is the resistance below 100.0 Ohms?

      Yes 

      • Go To 4

      No 

      • Using the wiring diagram/schematic as a guide, inspect the related wiring and connectors. Look for chafed, pierced, pinched, or partially broken wires and broken, bent, pushed out, spread, corroded, or contaminated terminals.
      • Replace Airbag Run-Start TIPM Fuse M16.
      • Perform the AIRBAG SYSTEM VERIFICATION TEST. Refer to AIRBAG SYSTEM VERIFICATION TEST .
  4. CHECK (F201) FUSED RUN/START RELAY OUTPUT CIRCUIT RESISTANCE WITH ORC DISCONNECTED 
    GC0131817Courtesy of CHRYSLER GROUP, LLC
    WARNING:

    Turn the ignition off, disconnect the 12-volt battery and wait two minutes before proceeding. Failure to follow these instructions may result in possible serious or fatal injury.

    1. Disconnect both ORC connectors.
      NOTE:

      Check connectors - Clean and repair as necessary.

    2. Connect the SRS Load Tool Adapter (special tool #8443-32-L, Adapter, SRS Adapter) to the ORC connectors.
    3. Measure the resistance of the (F201) Fused Run/Start Relay Output circuit between the Airbag Run-Start Fuse M16 (output side) terminal and ground.

      Is the resistance below 100.0 Ohms?

      Yes 

      • Go To  5

      No 

      WARNING:

      Turn the ignition on, then reconnect the 12-volt battery and wait two minutes before proceeding. Failure to follow these instructions may result in possible serious or fatal injury.

  5. CHECK TIPM (F201) FUSED RUN/START RELAY OUTPUT CIRCUIT RESISTANCE 
    GC0131817Courtesy of CHRYSLER GROUP, LLC
    1. Disconnect the TIPM C6 harness connector.
      NOTE:

      Check connectors - Clean and repair as necessary.

    2. Measure the resistance of the (F201) Fused Run/Start Relay Output circuit between TIPM Fuse M16 output terminal and ground.

      Is the resistance below 100.0 Ohms?

      Yes 

      • Replace the TIPM in accordance with the Service Information. Refer to REMOVAL, TIPM .
      • Replace the TIPM Run-Start Fuse M16.
      • Perform the BODY VERIFICATION TEST. Refer to BODY VERIFICATION TEST .

      No 

      • Repair the shorted (F201) Fused Ignition Switch Output (Run-Start) circuit.
      • Replace the TIPM Run-Start Fuse M16.
      • Perform the AIRBAG SYSTEM VERIFICATION TEST. Refer to AIRBAG SYSTEM VERIFICATION TEST .
  6. CHECK AIRBAG RUN/START TIPM FUSE M16 SUPPLY VOLTAGE 
    GC0131818Courtesy of CHRYSLER GROUP, LLC
    1. Turn the ignition on.
    2. Measure the voltage between Ground and the Airbag Run-Start TIPM Fuse M16 (supply side) terminal.

      Is the voltage above 6.0 volts?

      Yes 

      • Go To  7

      No 

  7. CHECK (F201) FUSED RUN/START RELAY OUTPUT CIRCUIT FOR AN OPEN 
    GC0131819Courtesy of CHRYSLER GROUP, LLC
    WARNING:

    Turn the ignition off, disconnect the 12-volt battery and wait two minutes before proceeding. Failure to follow these instructions may result in possible serious or fatal injury.

    1. Reinstall the Airbag Run-Start TIPM Fuse M16.
    2. Disconnect the both ORC connectors.
      NOTE:

      Check connectors - Clean and repair as necessary.

    3. Install the SRS Load tool Adapter (special tool #8443-32-L, Adapter, SRS Adapter) to the ORC connectors.
      WARNING:

      Turn the ignition on, then reconnect the 12-volt battery and wait two minutes before proceeding. Failure to follow these instructions may result in possible serious or fatal injury.

    4. Measure the voltage of the (F201) Fused Run/Start Relay Output circuit between the SRS Load tool Adapter (special tool #8443-32-L, Adapter, SRS Adapter) cavity C2-32 and ground.

      Is the voltage above 6.0 volts?

      Yes 

      WARNING:

      If the Occupant Restraint Controller (ORC) is dropped at any time, it must be replaced. Failure to follow these instructions may result in possible serious or fatal injury.

      No 

      • Go To  8
  8. CHECK (F201) FUSED RUN/START RELAY OUTPUT CIRCUIT FOR AN OPEN 
    GC0131820Courtesy of CHRYSLER GROUP, LLC
    WARNING:

    Turn the ignition off, disconnect the 12-volt battery and wait two minutes before proceeding. Failure to follow these instructions may result in possible serious or fatal injury.

    1. Disconnect the TIPM C6 connector.
      NOTE:

      Check connectors - Clean and repair as necessary.

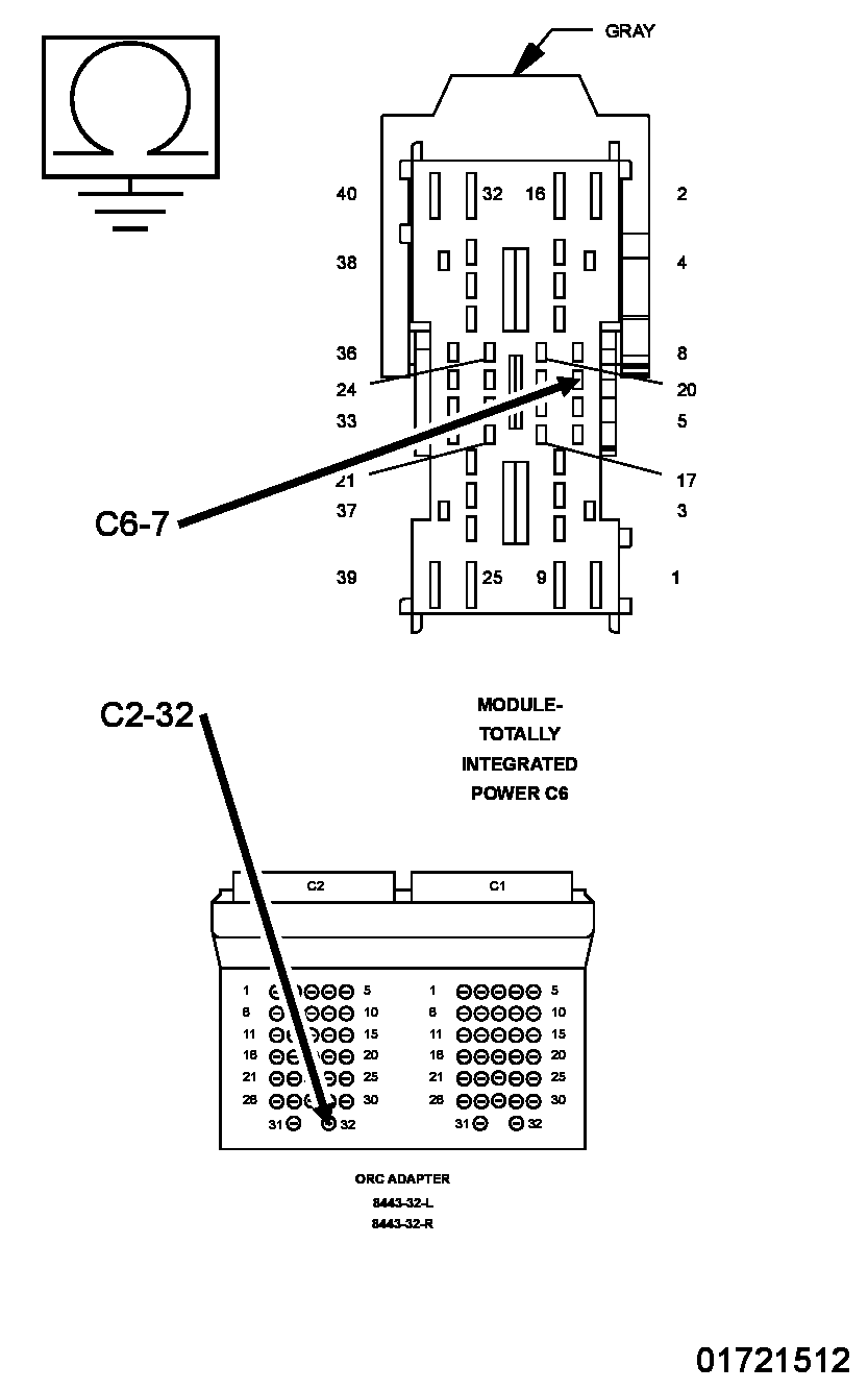
    2. Measure the resistance of the (F201) Fused Run/Start Relay Output Circuit between the SRS Load tool Adapter (special tool #8443-32-L, Adapter, SRS Adapter) cavity C2-32 and the TIPM C6 connector cavity 7.

      Is the below 5.0 Ohms?

      Yes 

      No 

  9. TEST FOR INTERMITTENT CONDITION 
    1. With the scan tool, record and erase all DTC from all Airbag modules.
    2. If any ACTIVE codes are present they must be resolved before diagnosing any stored codes.
      WARNING:

      Turn the ignition off, disconnect the 12-volt battery and wait two minutes before proceeding. Failure to follow these instructions may result in possible serious or fatal injury.

    3. Using the wiring diagram/schematic as a guide, inspect the wiring and connectors.
    4. Look for chafed, pierced, pinched, or partially broken wires and broken, bent, pushed out, spread, corroded, or contaminated terminals.
    5. The following additional checks may assist you in identifying a possible intermittent problem.
    6. Reconnect any disconnected components and harness connector.
      WARNING:

      Turn the ignition on, then reconnect the 12-volt battery and wait two minutes before proceeding. Failure to follow these instructions may result in possible serious or fatal injury.

    7. With the scan tool, monitor active codes as you work through the following steps.
      WARNING:

      Maintain a safe distance from all airbags while performing the following steps. Failure to follow these instructions may result in possible serious or fatal injury.

    8. Wiggle the wiring harness and connectors of the related airbag circuit or component.
    9. If only stored codes return, continue the test until the problem area has been isolated.
    10. In the previous steps you have attempted to recreate the conditions responsible for setting the active DTC in question.

      Does the scan tool display any ACTIVE DTC?

      Yes 

      No 

      • No problem found. Erase all codes before returning the vehicle to the customer.