LEMON Manuals: Even more car manuals for everyone: 1960-2025
Home >> Jeep >> 2019 >> Compass High Altitude, 4WD >> Repair and Diagnosis (Single Page) >> Quick Lookups >> Electrical Component Locations >> Connector End Views & Electrical Component Locations (5 Of 8) >> Module-Steering Column Control C10 (Standard) Connector End View (D3816J)
April 5, 2026: LEMON Manuals is launched! Read the announcement.

Module-Steering Column Control C10 (Standard) Connector End View (D3816J)

Harness-Family: IP

Color: BLACK

Gender: FEMALE

Part Number: 284443-4_284442-1

Part Description: Not Available

Connector No: D3816J

Option: Standard

Repair Kit Part Number: Not Available

Cavity Count: null

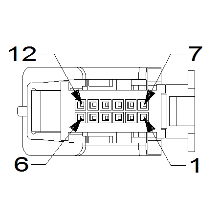
Fig 1: Module-Steering Column Control C10 Connector End View (Standard)
GCWD1011901Courtesy of CHRYSLER
Fig 2: Module-Steering Column Control C10 Component Location (Standard)
GCWD1256977Courtesy of CHRYSLER
Pin Circuit Wire Color Gauge/Size Function Option
1 L12 WH/OG 0.35 TURN SIGNAL INPUT MUX N/A
2 L37 WH/BN 0.35 HIGH BEAM SWITCH SENSE N/A
4 W113 BN/YE 0.35 REAR WIPER SWITCH MUX N/A
5 W114 BN/WH 0.35 FRONT WIPER WASHER SWITCH SIGNAL N/A
7 W52 BN/YE 0.50 FRONT WIPER SWITCH MUX N/A
10 G228 VT/BK 0.50 GROUND N/A
(1) Pins not listed are not used for this connector