LEMON Manuals: Even more car manuals for everyone: 1960-2025
Home >> Jeep >> 2019 >> Renegade Trailhawk >> Repair and Diagnosis (Single Page) >> Quick Lookups >> Electrical Component Locations >> Connector End Views & Electrical Component Locations (5 Of 10) >> Module-Steering Column Control C1 (Standard) Connector End View (D3816A)
April 5, 2026: LEMON Manuals is launched! Read the announcement.

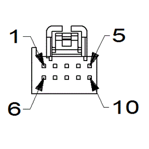
Module-Steering Column Control C1 (Standard) Connector End View (D3816A)

Harness-Family: IP

Color: BLACK

Gender: FEMALE

Part Number: 0/14414/07

Part Description: Not Available

Connector No: D3816A

Option: Standard

Repair Kit Part Number: Not Available

Cavity Count: null

Fig 1: Module-Steering Column Control C1 Connector End View (Standard)
GCWD1000280Courtesy of CHRYSLER
Fig 2: Module-Steering Column Control C1 Component Location (Standard)
GCWD1263049Courtesy of CHRYSLER
Pin Circuit Wire Color Gauge/Size Function Option
1 D402 GY/GN 0.35 LIN BUS EXCEPT REAR CAMERA
2 D404 GN/BN 0.35 LIN BUS SPEED CONTROL
8 Q117 RD/YE 0.5 IGNITION FEED N/A
9 X3 GN/WH 0.35 HORN SWITCH SENSE N/A
10 Z908 BK 0.75 GROUND LHD
(1) Pins not listed are not used for this connector