LEMON Manuals: Even more car manuals for everyone: 1960-2025
Home >> Jeep >> 2020 >> Compass Limited, FWD >> Repair and Diagnosis (Single Page) >> Quick Lookups >> Electrical Component Locations >> Connector End Views And Electrical Component Locations (4 Of 8) >> Module-Inverter (Standard) Connector End View (D2831A)
April 5, 2026: LEMON Manuals is launched! Read the announcement.

Module-Inverter (Standard) Connector End View (D2831A)

Harness-Family: IP

Color: GRAY

Gender: FEMALE

Part Number: 1456471-4

Part Description: Not Available

Connector No: D2831A

Option: Standard

Repair Kit Part Number: Not Available

Cavity Count: null

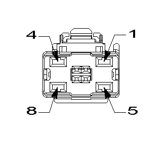
Fig 1: Module-Inverter Connector End View (Standard)
GCWD1012505Courtesy of CHRYSLER
Fig 2: Module-Inverter Component Location (Standard)
GCWD1288753Courtesy of CHRYSLER
Pin Circuit Wire Color Gauge/Size Function Option
1 P802 GN/OG 1.0 110/220 VOLT A/C INVERTER LINE 2 N/A
4 A401 RD/GN 2.0 FUSED B(+) N/A
5 P801 GN 1.0 110/220 VOLT A/C INVERTER LINE 1 N/A
6 P805 GN/DB 0.50 110/220 VOLT A/C INVERTER ENABLE N/A
8 Z930 BK 2.0 GROUND N/A
(1) Pins not listed are not used for this connector