LEMON Manuals: Even more car manuals for everyone: 1960-2025
Home >> Jeep >> 2020 >> Compass Limited, FWD >> Repair and Diagnosis (Single Page) >> Quick Lookups >> Electrical Component Locations >> Connector End Views And Electrical Component Locations (4 Of 8) >> Module-Occupant Restraint Controller C1 (Standard) Connector End View (D3834A)
April 5, 2026: LEMON Manuals is launched! Read the announcement.

Module-Occupant Restraint Controller C1 (Standard) Connector End View (D3834A)

Harness-Family: IP

Color: YELLOW

Gender: FEMALE

Part Number: 2098963-1_2098974-1_2098973-1

Part Description: Not Available

Connector No: D3834A

Option: Standard

Repair Kit Part Number: Not Available

Cavity Count: null

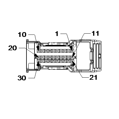
Fig 1: Module-Occupant Restraint Controller C1 Connector End View (Standard)
GCWD1014261Courtesy of CHRYSLER
Fig 2: Module-Occupant Restraint Controller C1 Component Location (Standard)
GCWD1288791Courtesy of CHRYSLER
Pin Circuit Wire Color Gauge/Size Function Option
1 R41 BU/OG 0.50 AIRBAG DEPLOYMENT SIGNAL N/A
2 R43 BU/BN 0.50 DRIVER SQUIB 1 LINE 2 N/A
3 R45 GN/OG 0.50 DRIVER SQUIB 1 LINE 1 N/A
4 R63 DB/WH 0.50 DRIVER SQUIB 2 LINE 1 N/A
5 R61 GN/VT 0.50 DRIVER SQUIB 2 LINE 2 N/A
8 R11 OG/DB 0.50 DRIVER KNEE BLOCKER SQUIB LINE 1 N/A
9 R9 BU/YE 0.50 DRIVER KNEE BLOCKER SQUIB LINE 2 N/A
10 F201 PK/OG 0.50 FUSED IGNITION RUN/START CONTROL OUTPUT N/A
11 D11 YE/DB 0.50 CAN C (+) N/A
12 R42 DG/BN 0.50 PASSENGER SQUIB 1 LINE 2 N/A
13 R44 GY/OG 0.50 PASSENGER SQUIB 1 LINE 1 N/A
14 R64 VT/WH 0.50 PASSENGER SQUIB 2 LINE 1 N/A
15 R62 BU/VT 0.50 PASSENGER SQUIB 2 LINE 2 N/A
16 R66 GY/DG 0.50 PASSENGER SQUIB 3 LINE 2 N/A
17 R68 BU/YE 0.50 PASSENGER SQUIB 3 LINE 1 N/A
20 F100 PK/VT 0.50 FUSED IGNITION RUN CONTROL OUTPUT N/A
21 D12 YE 0.50 CAN C (-) N/A
22 R168 GN/WH 0.50 AIRBAG OFF LAMP PASSENGER N/A
23 R167 DB 0.50 AIRBAG ON LAMP PASSENGER N/A
26 R79 BU/VT 0.50 LEFT FRONT IMPACT SENSOR SIGNAL N/A
27 R81 BU/WH 0.50 LEFT FRONT IMPACT SENSOR GROUND N/A
28 R82 WH/BU 0.50 RIGHT FRONT IMPACT SENSOR GROUND N/A
29 R80 VT/BU 0.50 RIGHT FRONT IMPACT SENSOR SIGNAL N/A
30 Z933 BK 0.50 GROUND N/A
(1) Pins not listed are not used for this connector