LEMON Manuals: Even more car manuals for everyone: 1960-2025
Home >> Jeep >> 2020 >> Compass Limited, FWD >> Repair and Diagnosis (Single Page) >> Quick Lookups >> Electrical Component Locations >> Connector End Views And Electrical Component Locations (5 Of 8) >> Module-Steering Column Control C1 (Standard) Connector End View (D3816A)
April 5, 2026: LEMON Manuals is launched! Read the announcement.

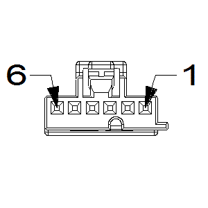
Module-Steering Column Control C1 (Standard) Connector End View (D3816A)

Harness-Family: IP

Color: YELLOW

Gender: FEMALE

Part Number: 33120610

Part Description: Not Available

Connector No: D3816A

Option: Standard

Repair Kit Part Number: Not Available

Cavity Count: null

Fig 1: Module-Steering Column Control C1 Connector End View (Standard)
GCWD1014620Courtesy of CHRYSLER
Fig 2: Module-Steering Column Control C1 Component Location (Standard)
GCWD1288775Courtesy of CHRYSLER
Pin Circuit Wire Color Gauge/Size Function Option
3 R63 DB/WH 0.50 DRIVER SQUIB 2 LINE 1 N/A
4 R61 GN/VT 0.50 DRIVER SQUIB 2 LINE 2 N/A
5 R45 GN/OG 0.50 DRIVER SQUIB 1 LINE 1 N/A
6 R43 BU/BN 0.50 DRIVER SQUIB 1 LINE 2 N/A
(1) Pins not listed are not used for this connector