LEMON Manuals: Even more car manuals for everyone: 1960-2025
Home >> Jeep >> 2020 >> Gladiator Altitude, Standard Trans >> Repair and Diagnosis (Single Page) >> Electrical >> Component Locations >> Connector End Views And Electrical Component Locations (3 Of 6) >> Module-Inverter C2 (Standard) Connector End View (D3920B)
April 5, 2026: LEMON Manuals is launched! Read the announcement.

Module-Inverter C2 (Standard) Connector End View (D3920B)

Harness-Family: IP

Color: BLACK

Gender: FEMALE

Part Number: 6098-4607

Part Description: Not Available

Connector No: D3920B

Option: Standard

Repair Kit Part Number: Not Available

Cavity Count: null

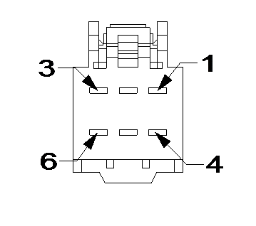
Fig 1: Module-Inverter C2 Connector End View (Standard)
GCWD1082055Courtesy of CHRYSLER
Fig 2: Module-Inverter C2 Component Location (Standard)
GCWD1284816Courtesy of CHRYSLER
Pin Circuit Wire Color Gauge/Size Function Option
1 P810 BG 0.80 AC VOLTAGE LINE 3 N/A
3 P824 GN 1.0 220 VOLT AC LINE 1 220VAC INVERTER
3 P801 GN 1.0 115 VOLT AC LINE 1 110VAC INVERTER
4 P811 BG/OG 0.80 AC VOLTAGE LINE 4 N/A
6 P828 GN/OG 1.0 220 VOLT AC LINE 2 220VAC INVERTER
6 P802 GN/OG 1.0 115 VOLT AC LINE 2 110VAC INVERTER
(1) Pins not listed are not used for this connector