LEMON Manuals: Even more car manuals for everyone: 1960-2025
Home >> Jeep >> 2020 >> Gladiator Altitude, Standard Trans >> Repair and Diagnosis (Single Page) >> Quick Lookups >> Electrical Component Locations >> Connector End Views And Electrical Component Locations (3 Of 6) >> Module-Body Control C5/E (Standard) Connector End View (D3806E)
April 5, 2026: LEMON Manuals is launched! Read the announcement.

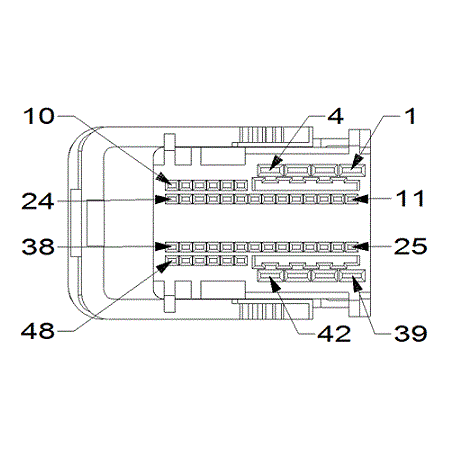
Module-Body Control C5/E (Standard) Connector End View (D3806E)

Harness-Family: Body

Color: BLACK

Gender: FEMALE

Part Number: 13850164_13850160_13850161

Part Description: Not Available

Connector No: D3806E

Option: Standard

Repair Kit Part Number: Not Available

Cavity Count: null

Fig 1: Module-Body Control C5/e Connector End View (Standard)
GCWD1014424Courtesy of CHRYSLER
Fig 2: Module-Body Control C5/e Component Location (Standard)
GCWD1284487Courtesy of CHRYSLER
Pin Circuit Wire Color Gauge/Size Function Option
1 L16 WH/VT 0.75 RIGHT BACKUP LAMP DRIVER N/A
2 L6 GN 0.75 RIGHT STOP/TURN FEED EXCEPT EXPORT
2 L54 WH/GN 0.75 RIGHT STOP LAMP DRIVER EXPORT
3 L63 WH/DG 0.75 LEFT REAR TURN LAMP DRIVER EXPORT
4 L72 WH/OG 0.75 RIGHT REAR PARK LAMP DRIVER N/A
5 G76 VT/YE 0.35 RIGHT REAR DOOR AJAR SWITCH SENSE N/A
6 P305 GN/BU 0.35 ACCESSORY DELAY RELAY CONTROL N/A
9 P307 GN/GY 0.35 ACCESSORY DELAY RELAY CONTROL N/A
10 C902 DB 0.50 ELECTRIC WINDSHIELD WIPER DE-ICER CONTROL N/A
11 B25 DG/WH 0.35 PARK BRAKE SWITCH SENSE N/A
14 Q997 OG/VT 0.50 ROOF PRESENCE DETECTION SENSE N/A
16 G109 BK 0.50 FUEL LEVEL SENSE RETURN N/A
17 N4 DB/WH 0.75 FUEL LEVEL SENSOR SIGNAL N/A
18 L3 WH/DB 0.50 LICENSE PLATE LAMP DRIVER N/A
22 L656 WH/DG 0.35 RIGHT REAR TURN SIGNAL CONTROL EXCEPT EXPORT
23 L658 WH/BN 0.35 TRAILER TOW BACKUP LAMP RELAY CONTROL EXCEPT EXPORT
24 L657 WH/GN 0.35 TRAILER TOW TAIL LAMP RELAY CTRL EXCEPT EXPORT
25 D45 BN 0.35 CAN C (+) N/A
26 D46 YE 0.35 CAN C (-) N/A
27 F20 PK/WH 0.35 IGNITION RUN/START CONTROL OUTPUT N/A
28 G755 VT/BG 0.35 DRIVER DOOR SECONDARY AJAR SWITCH SENSE N/A
36 K619 BN/OG 0.35 IGNITION RUN CONTROL OUTPUT N/A
39 L898 WH/DG 0.75 FOG RR LAMP FEED 2 N/A
45 D403 OG/DB 0.35 LIN BUS CBC 3 N/A
(1) Pins not listed are not used for this connector