LEMON Manuals: Even more car manuals for everyone: 1960-2025
Home >> Jeep >> 2020 >> Gladiator Altitude, Standard Trans >> Repair and Diagnosis (Single Page) >> Quick Lookups >> Electrical Component Locations >> Connector End Views And Electrical Component Locations (3 Of 6) >> Module-Drive Train Control C2 (Standard) Connector End View (D3872B)
April 5, 2026: LEMON Manuals is launched! Read the announcement.

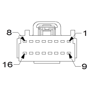
Module-Drive Train Control C2 (Standard) Connector End View (D3872B)

Harness-Family: Body

Color: GRAY

Gender: FEMALE

Part Number: 7283-3585-40

Part Description: Not Available

Connector No: D3872B

Option: Standard

Repair Kit Part Number: Not Available

Cavity Count: null

Fig 1: Module-Drive Train Control C2 Connector End View (Standard)
GCWD1010500Courtesy of CHRYSLER
Fig 2: Module-Drive Train Control C2 Component Location (Standard)
GCWD1284948Courtesy of CHRYSLER
Pin Circuit Wire Color Gauge/Size Function Option
10 T538 YE/DB 0.35 LOCKER SENSOR RETURN REAR N/A
11 T527 YE/BG 0.35 REAR LOCKER SWITCH SENSE N/A
12 T528 YE/GY 0.75 REAR LOCKER RETURN N/A
14 T522 YE/BU 0.35 FRONT LOCKER SWITCH SENSE N/A
15 T523 YE/BG 0.35 LOCKER SENSOR RETURN N/A
16 T524 YE/GN 0.75 FRONT LOCKER RETURN N/A
(1) Pins not listed are not used for this connector