LEMON Manuals: Even more car manuals for everyone: 1960-2025
Home >> Jeep >> 2021 >> Cherokee Altitude, 4WD >> Repair and Diagnosis (Single Page) >> Electrical >> Wiring Diagrams >> Connector End Views And Electrical Component Locations (11 Of 15) >> Module-Occupant Classification (Standard) Connector End View (D3875A)
April 5, 2026: LEMON Manuals is launched! Read the announcement.

Module-Occupant Classification (Standard) Connector End View (D3875A)

Harness-Family: Seat_Cshn_Pass

Color: BLACK

Gender: FEMALE

Part Number: 31403-6110

Part Description: USCAR CONNECTOR -SINGLE ROW ASSY W/ CPA

Connector No: D3875A

Option: Standard

Repair Kit Part Number: 68032645AA

Cavity Count: 6

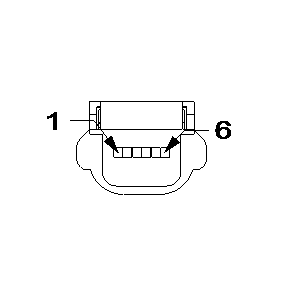
Fig 1: Module-Occupant Classification Connector End View (Standard)
GCWD1079557Courtesy of CHRYSLER
Fig 2: Module-Occupant Classification Isometric View (Standard)
GCWD1080974Courtesy of CHRYSLER
Fig 3: Module-Occupant Classification Wire Insertion View (Standard)
GCWD1008271Courtesy of CHRYSLER
Fig 4: Module-Occupant Classification Component Location View (Standard)
GCWD1322591Courtesy of CHRYSLER
Pin Circuit Wire Color Gauge/Size Function Option
1 F944 PK/GN 0.50 RUN/START RELAY OUTPUT N/A
2 D13 YE/BU 0.50 CAN C (+) N/A
3 D14 YE 0.50 CAN C (-) N/A
4 Z916 BK 0.75 GROUND N/A
5 N0 NA 0 NO CONNECT N/A
6 N0 NA 0 NO CONNECT N/A