LEMON Manuals: Even more car manuals for everyone: 1960-2025
Home >> Jeep >> 2021 >> Cherokee Altitude, 4WD >> Repair and Diagnosis (Single Page) >> Quick Lookups >> Electrical Component Locations >> Connector End Views And Electrical Component Locations (11 Of 15) >> Module-Memory Seat-Driver C7 (Standard) Connector End View (D3873G)
April 5, 2026: LEMON Manuals is launched! Read the announcement.

Module-Memory Seat-Driver C7 (Standard) Connector End View (D3873G)

Harness-Family: Seat_Cshn_Driver

Color: BLUE

Gender: FEMALE

Part Number: 3-969508-2

Part Description: Not Available

Connector No: D3873G

Option: Standard

Repair Kit Part Number: 68440502AA

Cavity Count: 6

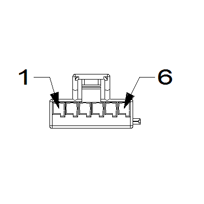
Fig 1: Module-Memory Seat-Driver C7 Connector End View (Standard)
GCWD1013091Courtesy of CHRYSLER
Fig 2: Module-Memory Seat-Driver C7 Isometric View (Standard)
GCWD1013189Courtesy of CHRYSLER
Fig 3: Module-Memory Seat-Driver C7 Wire Insertion View (Standard)
GCWD1009793Courtesy of CHRYSLER
Fig 4: Module-Memory Seat-Driver C7 Component Location View (Standard)
GCWD1322205Courtesy of CHRYSLER
Pin Circuit Wire Color Gauge/Size Function Option
1 P599 GN/BG 0.35 DRIVER SEAT SWITCH MUX RETURN N/A
2 P239 GN/WH 0.35 DRIVER SEAT SWITCH REAR VERTICAL/HORIZONTAL SWITCH MUX N/A
3 P339 GN/DB 0.35 DRIVER SEAT SWITCH FRONT VERTICAL/RECLINER SWITCH MUX N/A
4 N0 NA 0 NO CONNECT N/A
5 N0 NA 0 NO CONNECT N/A
6 P9 GN/OG 0.35 5 VOLT SUPPLY N/A