LEMON Manuals: Even more car manuals for everyone: 1960-2025
Home >> Jeep >> 2021 >> Cherokee Altitude, 4WD >> Repair and Diagnosis (Single Page) >> Quick Lookups >> Electrical Component Locations >> Connector End Views And Electrical Component Locations (12 Of 15) >> Module-Steering Column Control C1 (Standard) Connector End View (D3816A)
April 5, 2026: LEMON Manuals is launched! Read the announcement.

Module-Steering Column Control C1 (Standard) Connector End View (D3816A)

Harness-Family: IP

Color: YELLOW

Gender: FEMALE

Part Number: 1924393-1_1924396-1

Part Description: Not Available

Connector No: D3816A

Option: Standard

Repair Kit Part Number: 68496354AB

Cavity Count: 14

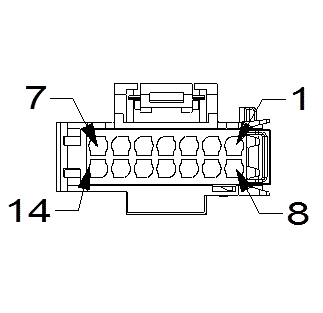
Fig 1: Module-Steering Column Control C1 Connector End View (Standard)
GCWD1006469Courtesy of CHRYSLER
Fig 2: Module-Steering Column Control C1 Isometric View (Standard)
GCWD1089330Courtesy of CHRYSLER
Fig 3: Module-Steering Column Control C1 Wire Insertion View (Standard)
GCWD1008633Courtesy of CHRYSLER
Fig 4: Module-Steering Column Control C1 Component Location View (Standard)
GCWD1322721Courtesy of CHRYSLER
Pin Circuit Wire Color Gauge/Size Function Option
1 N0 NA 0 NO CONNECT N/A
2 N0 NA 0 NO CONNECT N/A
3 C91 DB/GN 1.0 HEATED STEERING WHEEL FEED N/A
4 C986 GY/DB 1.0 HEATED STEERING WHEEL RETURN N/A
5 N0 NA 0 NO CONNECT N/A
6 N0 NA 0 NO CONNECT N/A
7 N0 NA 0 NO CONNECT N/A
8 R43 BU/BN 0.50 DRIVER SQUIB 1 LINE 2 N/A
9 R45 GN/OG 0.50 DRIVER SQUIB 1 LINE 1 N/A
10 R61 GN/VT 0.50 DRIVER SQUIB 2 LINE 2 N/A
11 R63 DB/WH 0.50 DRIVER SQUIB 2 LINE 1 N/A
12 R67 GY/OG 0.50 DRIVER SQUIB 3 LINE 2 N/A
13 R69 GN/YE 0.50 DRIVER SQUIB 3 LINE 1 N/A
14 N0 NA 0 NO CONNECT N/A