LEMON Manuals: Even more car manuals for everyone: 1960-2025
Home >> Jeep >> 2021 >> Cherokee Altitude, 4WD >> Repair and Diagnosis (Single Page) >> Quick Lookups >> Electrical Component Locations >> Connector End Views And Electrical Component Locations (12 Of 15) >> Module-Steering Column Control C4 (Standard) Connector End View (D3816D)
April 5, 2026: LEMON Manuals is launched! Read the announcement.

Module-Steering Column Control C4 (Standard) Connector End View (D3816D)

Harness-Family: StrgWheelJumper

Color: WHITE

Gender: FEMALE

Part Number: 174463-1

Part Description: .070 SRS MLC 2POS PLUG HOUSING

Connector No: D3816D

Option: Standard

Repair Kit Part Number: 68040489AA

Cavity Count: 2

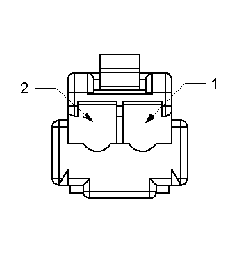
Fig 1: Module-Steering Column Control C4 Connector End View (Standard)
GCWD1006355Courtesy of CHRYSLER
Fig 2: Module-Steering Column Control C4 Isometric View (Standard)
GCWD1087515Courtesy of CHRYSLER
Fig 3: Module-Steering Column Control C4 Wire Insertion View (Standard)
GCWD1007243Courtesy of CHRYSLER
Fig 4: Module-Steering Column Control C4 Component Location View (Standard)
GCWD1322098Courtesy of CHRYSLER
Pin Circuit Wire Color Gauge/Size Function Option
1 C91 DB 0.75 HEATED STEERING WHEEL FEED N/A
2 C986 DB 0.75 HEATED STEERING WHEEL RETURN N/A