LEMON Manuals: Even more car manuals for everyone: 1960-2025
Home >> Jeep >> 2021 >> Cherokee Latitude Plus, FWD >> Repair and Diagnosis (Single Page) >> Electrical >> Component Locations >> Connector End Views And Electrical Component Locations (10 Of 15) >> Module-Integrated Center Stack Switch Bank (Standard) Connector End View (D2695A)
April 5, 2026: LEMON Manuals is launched! Read the announcement.

Module-Integrated Center Stack Switch Bank (Standard) Connector End View (D2695A)

Harness-Family: IP

Color: BLACK

Gender: FEMALE

Part Number: 30700-1081

Part Description: Not Available

Connector No: D2695A

Option: Standard

Repair Kit Part Number: 68440510AA

Cavity Count: 8

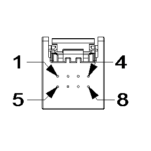
Fig 1: Module-Integrated Center Stack Switch Bank Connector End View (Standard)
GCWD1006363Courtesy of CHRYSLER
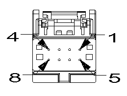
Fig 2: Module-Integrated Center Stack Switch Bank Isometric View (Standard)
GCWD1089530Courtesy of CHRYSLER
Fig 3: Module-Integrated Center Stack Switch Bank Wire Insertion View (Standard)
GCWD1008670Courtesy of CHRYSLER
Fig 4: Module-Integrated Center Stack Switch Bank Component Location View (Standard)
GCWD1322202Courtesy of CHRYSLER
Pin Circuit Wire Color Gauge/Size Function Option
1 D462 WH 0.35 CAN IHS (-) N/A
2 N0 NA 0 NO CONNECT N/A
3 Z914 BK/GN 0.35 GROUND N/A
4 A937 RD 0.35 FUSED B(+) N/A
5 D463 OG 0.35 CAN IHS (+) N/A
6 N0 NA 0 NO CONNECT N/A
7 N0 NA 0 NO CONNECT N/A
8 N0 NA 0 NO CONNECT N/A