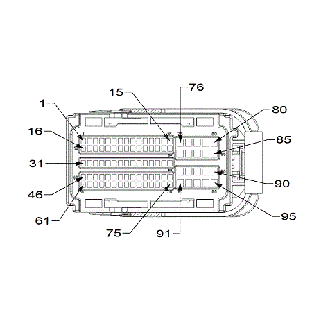
Module-Powertrain Control C1 (2.0L) Connector End View (D3821A)
Harness-Family: Dash
Color: BLACK
Gender: FEMALE
Part Number: 34992-0906_34992-7001
Part Description: Not Available
Connector No: D3821A
Option: 2.0L
Repair Kit Part Number: 68528151AA
Cavity Count: 95
| Pin | Circuit | Wire Color | Gauge/Size | Function | Option |
|---|---|---|---|---|---|
| 1 | K173 | BN/VT | 0.75 | RADIATOR FAN CONTROL SIGNAL | N/A |
| 2 | T753 | DG/YE | 0.50 | IGNITION CRANK SENSE | N/A |
| 3 | N0 | NA | 0 | NO CONNECT | N/A |
| 4 | N0 | NA | 0 | NO CONNECT | N/A |
| 5 | B135 | DG/GN | 0.50 | BRAKE SIGNAL 1 | N/A |
| 6 | K108 | VT/GY | 0.50 | ESIM SIGNAL | WITH FUEL TANK PRESS |
| 6 | N0 | NA | 0 | NO CONNECT | WITHOUT FUEL TANK PRESS |
| 7 | N8 | DB/PK | 0.50 | FUEL TANK PRESSURE SENSOR SUPPLY | WITH FUEL TANK PRESS |
| 7 | N0 | NA | 0 | NO CONNECT | WITHOUT FUEL TANK PRESS |
| 8 | N10 | DB/WH | 0.50 | FUEL TANK PRESSURE SENSOR RETURN | N/A |
| 9 | N0 | NA | 0 | NO CONNECT | N/A |
| 10 | D27 | BG/WH | 0.50 | CAN C (+) | N/A |
| 11 | D28 | YE | 0.50 | CAN C (-) | N/A |
| 12 | N0 | NA | 0 | NO CONNECT | N/A |
| 13 | N0 | NA | 0 | NO CONNECT | N/A |
| 14 | D511 | WH/BG | 0.50 | LIN BUS | N/A |
| 15 | N0 | NA | 0 | NO CONNECT | N/A |
| 16 | N0 | NA | 0 | NO CONNECT | N/A |
| 17 | N0 | NA | 0 | NO CONNECT | N/A |
| 18 | N0 | NA | 0 | NO CONNECT | N/A |
| 19 | N0 | NA | 0 | NO CONNECT | N/A |
| 20 | N0 | NA | 0 | NO CONNECT | N/A |
| 21 | K247 | DB/GN | 0.75 | GPF DELTA PRESS SENSE | N/A |
| 22 | N12 | DB/GN | 0.75 | FPCM PWM FEEDBACK | N/A |
| 23 | N0 | NA | 0 | NO CONNECT | N/A |
| 24 | N0 | NA | 0 | NO CONNECT | N/A |
| 25 | N0 | NA | 0 | NO CONNECT | N/A |
| 26 | N0 | NA | 0 | NO CONNECT | N/A |
| 27 | K69 | BN/BU | 0.75 | IAT SIGNAL | N/A |
| 28 | N0 | NA | 0 | NO CONNECT | N/A |
| 29 | K222 | BN/YE | 0.50 | CHARGE AIR COOLANT TEMP SIGNAL | N/A |
| 30 | K248 | DB/OG | 0.75 | GPF ABSOLUTE PRESS SENSE | N/A |
| 31 | K51 | BN/WH | 0.75 | ASD RELAY CONTROL | N/A |
| 32 | K23 | BN/WH | 0.75 | APP SIGNAL 1 | N/A |
| 33 | K167 | BN/YE | 0.75 | APP SENSOR GROUND 1 | N/A |
| 34 | K29 | WH/BN | 0.75 | APP SIGNAL 2 | N/A |
| 35 | K400 | BN/VT | 0.75 | APP SENSOR GROUND 2 | N/A |
| 36 | K852 | GY/BU | 0.75 | 5 VOLT SUPPLY | N/A |
| 37 | C18 | BU/BN | 0.50 | A/C PRESSURE SIGNAL | N/A |
| 38 | N0 | NA | 0 | NO CONNECT | N/A |
| 39 | K854 | VT/BN | 0.50 | 5 VOLT SUPPLY | N/A |
| 40 | K181 | BN/YE | 0.50 | FUEL PRESSURE SIGNAL | N/A |
| 41 | N7 | DB/OG | 0.50 | FUEL TANK PRESSURE SIGNAL | WITH FUEL TANK PRESS |
| 41 | N0 | NA | 0 | NO CONNECT | WITHOUT FUEL TANK PRESS |
| 42 | K806 | DB/BN | 0.75 | HOOD AJAR SWITCH 2 | N/A |
| 43 | N0 | NA | 0 | NO CONNECT | N/A |
| 44 | N0 | NA | 0 | NO CONNECT | N/A |
| 45 | N0 | NA | 0 | NO CONNECT | N/A |
| 46 | N0 | NA | 0 | NO CONNECT | N/A |
| 47 | N0 | NA | 0 | NO CONNECT | N/A |
| 48 | N0 | NA | 0 | NO CONNECT | N/A |
| 49 | N0 | NA | 0 | NO CONNECT | N/A |
| 50 | F942 | PK/VT | 0.75 | FUSED IGNITION SWITCH OUTPUT (RUN-START) | N/A |
| 51 | N0 | NA | 0 | NO CONNECT | N/A |
| 52 | X478 | BN/GN | 0.50 | ANC BUFFERED CRANK POSITION (+) | N/A |
| 53 | N0 | NA | 0 | NO CONNECT | N/A |
| 54 | N0 | NA | 0 | NO CONNECT | N/A |
| 55 | K71 | BN/YE | 0.50 | OBD VENT VALVE CONTROL | N/A |
| 56 | N0 | NA | 0 | NO CONNECT | N/A |
| 57 | K37 | BN/OG | 0.50 | BOOST PRESSURE SIGNAL | N/A |
| 58 | K917 | BN/BG | 0.50 | SENSOR GROUND | N/A |
| 59 | N0 | NA | 0 | NO CONNECT | N/A |
| 60 | K200 | BN/YE | 0.50 | SENSOR GROUND | N/A |
| 61 | N0 | NA | 0 | NO CONNECT | N/A |
| 62 | K52 | DB/WH | 0.75 | EVAP PURGE CONTROL | N/A |
| 63 | C13 | BU/OG | 0.75 | A/C CLUTCH CONTROL | N/A |
| 64 | T110 | DG/YE | 0.75 | VACUUM PUMP RELAY CONTROL | N/A |
| 65 | K31 | BN | 0.75 | FUEL PUMP RELAY CONTROL | N/A |
| 66 | N0 | NA | 0 | NO CONNECT | N/A |
| 67 | N0 | NA | 0 | NO CONNECT | N/A |
| 68 | N0 | NA | 0 | NO CONNECT | N/A |
| 69 | F865 | GY/PK | 0.75 | 5V SNSR SUPPLY | N/A |
| 70 | N0 | NA | 0 | NO CONNECT | N/A |
| 71 | N0 | NA | 0 | NO CONNECT | N/A |
| 72 | N11 | DB/BG | 0.75 | FPCM PWM CONTROL | N/A |
| 73 | N0 | NA | 0 | NO CONNECT | N/A |
| 74 | N0 | NA | 0 | NO CONNECT | N/A |
| 75 | K175 | BN/BU | 0.75 | RAD FAN CONTROL | N/A |
| 76 | N18 | DB/BU | 1.0 | HSD CONTROL | N/A |
| 77 | N0 | NA | 0 | NO CONNECT | N/A |
| 78 | N0 | NA | 0 | NO CONNECT | N/A |
| 79 | N0 | NA | 0 | NO CONNECT | N/A |
| 80 | N0 | NA | 0 | NO CONNECT | N/A |
| 81 | N1 | DB/OG | 1.0 | LSD CONTROL/FUEL PUMP CONTROL | N/A |
| 82 | Z909 | BK | 1.0 | GROUND | N/A |
| 83 | Z909 | BK/WH | 1.0 | GROUND | N/A |
| 84 | Z909 | BK/YE | 1.0 | GROUND | N/A |
| 85 | N0 | NA | 0 | NO CONNECT | N/A |
| 86 | N0 | NA | 0 | NO CONNECT | N/A |
| 87 | A209 | RD | 1.0 | FUSED B(+) | N/A |
| 88 | F342 | BN/WH | 1.0 | FUSED ASD RELAY OUTPUT | N/A |
| 89 | F342 | BN/WH | 1.0 | FUSED ASD RELAY OUTPUT | N/A |
| 90 | F342 | BN/WH | 1.0 | FUSED ASD RELAY OUTPUT | N/A |
| 91 | N0 | NA | 0 | NO CONNECT | N/A |
| 92 | T752 | DG/OG | 0.75 | STARTER RELAY CONTROL | N/A |
| 93 | K79 | BN/BU | 1.0 | O2 1/1 HEATER CONTROL | N/A |
| 94 | N0 | NA | 0 | NO CONNECT | N/A |
| 95 | N0 | NA | 0 | NO CONNECT | N/A |