LEMON Manuals: Even more car manuals for everyone: 1960-2025
Home >> Jeep >> 2021 >> Gladiator Mojave, Part Time T/Case Control, Standard Trans >> Repair and Diagnosis (Single Page) >> Electrical >> Component Locations >> Connector End Views And Electrical Component Locations (11 Of 13) >> Sensor-Front Impact-Right (Standard) Connector End View (D3165A)
April 5, 2026: LEMON Manuals is launched! Read the announcement.

Sensor-Front Impact-Right (Standard) Connector End View (D3165A)

Harness-Family: Dash

Color: NATURAL

Gender: FEMALE

Part Number: 1-1924067-5

Part Description: Not Available

Connector No: D3165A

Option: Standard

Repair Kit Part Number: 68225152AB

Cavity Count: 2

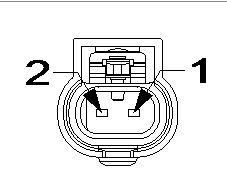
Fig 1: Sensor-Front Impact-Right Connector End View (Standard)
GCWD1081550Courtesy of CHRYSLER
Fig 2: Sensor-Front Impact-Right Isometric View (Standard)
GCWD1082932Courtesy of CHRYSLER
Fig 3: Sensor-Front Impact-Right Wire Insertion View (Standard)
GCWD1009167Courtesy of CHRYSLER
Fig 4: Sensor-Front Impact-Right Component Location View (Standard)
GCWD1318252Courtesy of CHRYSLER
Pin Circuit Wire Color Gauge/Size Function Option
1 R80 VT/BU 0.50 RIGHT FRONT IMPACT SENSOR SIGNAL N/A
2 R82 WH/BU 0.50 RIGHT FRONT IMPACT SENSOR GROUND N/A