LEMON Manuals: Even more car manuals for everyone: 1960-2025
Home >> Jeep >> 2021 >> Gladiator Mojave, Part Time T/Case Control, Standard Trans >> Repair and Diagnosis (Single Page) >> Electrical >> Component Locations >> Connector End Views And Electrical Component Locations (7 Of 13) >> Module-Comfort Seat Steering Wheel C1 (Standard) Connector End View (D3846A)
April 5, 2026: LEMON Manuals is launched! Read the announcement.

Module-Comfort Seat Steering Wheel C1 (Standard) Connector End View (D3846A)

Harness-Family: IP

Color: BLACK

Gender: FEMALE

Part Number: 1-2177196-1_2177231-1

Part Description: Not Available

Connector No: D3846A

Option: Standard

Repair Kit Part Number: 68535909AA

Cavity Count: 5

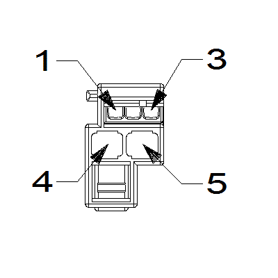
Fig 1: Module-Comfort Seat Steering Wheel C1 Connector End View (Standard)
GCWD1000324Courtesy of CHRYSLER
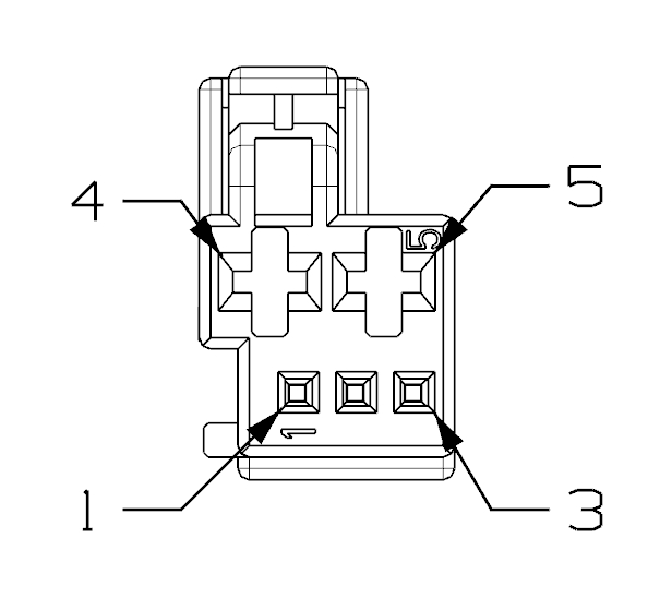
Fig 2: Module-Comfort Seat Steering Wheel C1 Isometric View (Standard)
GCWD1000470Courtesy of CHRYSLER
Fig 3: Module-Comfort Seat Steering Wheel C1 Wire Insertion View (Standard)
GCWD1009342Courtesy of CHRYSLER
Fig 4: Module-Comfort Seat Steering Wheel C1 Component Location View (Standard)
GCWD1318910Courtesy of CHRYSLER
Pin Circuit Wire Color Gauge/Size Function Option
1 D163 WH/DB 0.35 CAN IHS (+) N/A
2 D164 WH 0.35 CAN IHS (-) N/A
3 N0 NA 0 NO CONNECT N/A
4 F921 PK/YE 1.0 FUSED IGNITION N/A
5 Z914 BK 1.0 GROUND N/A