LEMON Manuals: Even more car manuals for everyone: 1960-2025
Home >> Jeep >> 2021 >> Gladiator Mojave, Part Time T/Case Control, Standard Trans >> Repair and Diagnosis (Single Page) >> Electrical >> Component Locations >> Connector End Views And Electrical Component Locations (7 Of 13) >> Module-Glow Plug (Standard) Connector End View (D3913A)
April 5, 2026: LEMON Manuals is launched! Read the announcement.

Module-Glow Plug (Standard) Connector End View (D3913A)

Harness-Family: Engine_Diesel1

Color: DARK GREEN

Gender: FEMALE

Part Number: F654310

Part Description: Not Available

Connector No: D3913A

Option: Standard

Repair Kit Part Number: Not Available

Cavity Count: 11

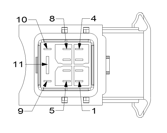
Fig 1: Module-Glow Plug Connector End View (Standard)
GCWD1006530Courtesy of CHRYSLER
Fig 2: Module-Glow Plug Isometric View (Standard)
GCWD1083325Courtesy of CHRYSLER
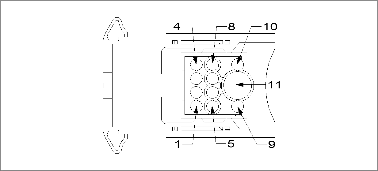
Fig 3: Module-Glow Plug Wire Insertion View (Standard)
GCWD1009510Courtesy of CHRYSLER
Fig 4: Module-Glow Plug Component Location View (Standard)
GCWD1318904Courtesy of CHRYSLER
Pin Circuit Wire Color Gauge/Size Function Option
1 A202 BK/RD 2.50 FUSED B(+) N/A
2 A203 YE 2.50 FUSED B(+) N/A
3 A204 GN 2.50 FUSED B(+) N/A
4 A208 BN 2.50 FUSED B(+) N/A
5 A211 WH/BN 2.50 FUSED B(+) N/A
6 F343 GY/RD 0.75 FUSED ASD RELAY OUTPUT N/A
7 Z909 BK 0.75 GROUND N/A
8 A216 DB 2.50 FUSED B(+) N/A
10 D509 OG 0.50 LIN BUS N/A
11 A29 GY 6.0 FUSED B(+) N/A