LEMON Manuals: Even more car manuals for everyone: 1960-2025
Home >> Jeep >> 2021 >> Gladiator Mojave, Part Time T/Case Control, Standard Trans >> Repair and Diagnosis (Single Page) >> Electrical >> Component Locations >> Connector End Views And Electrical Component Locations (9 Of 13) >> Module-Steering Column-Lock (Standard) Connector End View (D3925A)
April 5, 2026: LEMON Manuals is launched! Read the announcement.

Module-Steering Column-Lock (Standard) Connector End View (D3925A)

Harness-Family: IP

Color: BLACK

Gender: FEMALE

Part Number: 1-1534121-1_1534120-1

Part Description: Not Available

Connector No: D3925A

Option: Standard

Repair Kit Part Number: 68230471AA

Cavity Count: 6

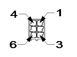
Fig 1: Module-Steering Column-Lock Connector End View (Standard)
GCWD1133257Courtesy of CHRYSLER
Fig 2: Module-Steering Column-Lock Isometric View (Standard)
GCWD1314621Courtesy of CHRYSLER
Fig 3: Module-Steering Column-Lock Wire Insertion View (Standard)
GCWD1008345Courtesy of CHRYSLER
Fig 4: Module-Steering Column-Lock Component Location View (Standard)
GCWD1318431Courtesy of CHRYSLER
Pin Circuit Wire Color Gauge/Size Function Option
1 B22 DG/GN 0.35 VEHICLE SPEED SIGNAL 1 N/A
2 F915 PK 0.35 FUSED IGNITION RUN/START N/A
3 Z911 BK/VT 0.50 GROUND N/A
4 D253 YE/DG 0.35 CAN C (+) N/A
5 D252 YE 0.35 CAN C (-) N/A
6 A230 RD/BN 0.50 FUSED B(+) N/A