LEMON Manuals: Even more car manuals for everyone: 1960-2025
Home >> Jeep >> 2021 >> Gladiator Mojave, Part Time T/Case Control, Standard Trans >> Repair and Diagnosis (Single Page) >> Quick Lookups >> Electrical Component Locations >> Connector End Views And Electrical Component Locations (10 Of 13) >> Relay-Power Control C1 (Standard) Connector End View (D3157A)
April 5, 2026: LEMON Manuals is launched! Read the announcement.

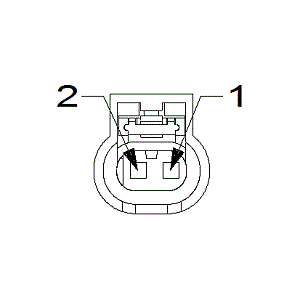
Relay-Power Control C1 (Standard) Connector End View (D3157A)

Harness-Family: Dash

Color: BLACK

Gender: FEMALE

Part Number: 805-120-532

Part Description: Not Available

Connector No: D3157A

Option: Standard

Repair Kit Part Number: 68475548AA

Cavity Count: 2

Fig 1: Relay-Power Control C1 Connector End View (Standard)
GCWD1014080Courtesy of CHRYSLER
Fig 2: Relay-Power Control C1 Isometric View (Standard)
GCWD1012295Courtesy of CHRYSLER
Fig 3: Relay-Power Control C1 Wire Insertion View (Standard)
GCWD1010184Courtesy of CHRYSLER
Fig 4: Relay-Power Control C1 Component Location View (Standard)
GCWD1318571Courtesy of CHRYSLER
Pin Circuit Wire Color Gauge/Size Function Option
1 T760 DG/BG 0.35 PCR CONTROL RELAY OUTPUT N/A
2 Z907 BK/BU 0.35 GROUND N/A