LEMON Manuals: Even more car manuals for everyone: 1960-2025
Home >> Jeep >> 2021 >> Gladiator Mojave, Part Time T/Case Control, Standard Trans >> Repair and Diagnosis (Single Page) >> Quick Lookups >> Electrical Component Locations >> Connector End Views And Electrical Component Locations (11 Of 13) >> Sensor-Intelligent Battery C2 (RHD) Connector End View (D2550B)
April 5, 2026: LEMON Manuals is launched! Read the announcement.

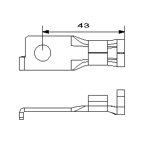
Sensor-Intelligent Battery C2 (RHD) Connector End View (D2550B)

Harness-Family: Dash

Color: NA

Gender: FEMALE

Part Number: R8711

Part Description: Not Available

Connector No: D2550B

Option: RHD

Repair Kit Part Number: Not Available

Cavity Count: 1

Fig 1: Sensor-Intelligent Battery C2 Connector End View (RHD)
GCWD1296598Courtesy of CHRYSLER
Fig 2: Sensor-Intelligent Battery C2 Isometric View (RHD)
GCWD1318465Courtesy of CHRYSLER
Pin Circuit Wire Color Gauge/Size Function Option
1 Z901 BK 35.0 GROUND N/A