LEMON Manuals: Even more car manuals for everyone: 1960-2025
Home >> Jeep >> 2021 >> Gladiator Mojave, Part Time T/Case Control, Standard Trans >> Repair and Diagnosis (Single Page) >> Quick Lookups >> Electrical Component Locations >> Connector End Views And Electrical Component Locations (12 Of 13) >> Sensor-Transfer Case Position (Standard) Connector End View (D3286A)
April 5, 2026: LEMON Manuals is launched! Read the announcement.

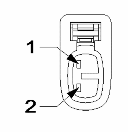
Sensor-Transfer Case Position (Standard) Connector End View (D3286A)

Harness-Family: Transmission

Color: BLACK

Gender: FEMALE

Part Number: 7283-8226-30

Part Description: Not Available

Connector No: D3286A

Option: Standard

Repair Kit Part Number: 05161918AA

Cavity Count: 2

Fig 1: Sensor-Transfer Case Position Connector End View (Standard)
GCWD1092492Courtesy of CHRYSLER
Fig 2: Sensor-Transfer Case Position Isometric View (Standard)
GCWD1012235Courtesy of CHRYSLER
Fig 3: Sensor-Transfer Case Position Wire Insertion View (Standard)
GCWD1007267Courtesy of CHRYSLER
Fig 4: Sensor-Transfer Case Position Component Location View (Standard)
GCWD1318868Courtesy of CHRYSLER
Pin Circuit Wire Color Gauge/Size Function Option
1 T314 YE/BU 0.50 TRANSFER CASE RANGE POSITION SIGNAL N/A
2 K977 BN/WH 0.50 MODE SELECT N/A