LEMON Manuals: Even more car manuals for everyone: 1960-2025
Home >> Jeep >> 2021 >> Gladiator Mojave, Part Time T/Case Control, Standard Trans >> Repair and Diagnosis (Single Page) >> Quick Lookups >> Electrical Component Locations >> Connector End Views And Electrical Component Locations (12 Of 13) >> Solenoid-Locker-Rear (Standard) Connector End View (D74A)
April 5, 2026: LEMON Manuals is launched! Read the announcement.

Solenoid-Locker-Rear (Standard) Connector End View (D74A)

Harness-Family: Chassis_RT

Color: BLACK

Gender: FEMALE

Part Number: 805-122-582

Part Description: Not Available

Connector No: D74A

Option: Standard

Repair Kit Part Number: 68500924AA

Cavity Count: 4

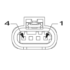
Fig 1: Solenoid-Locker-Rear Connector End View (Standard)
GCWD1006864Courtesy of CHRYSLER
Fig 2: Solenoid-Locker-Rear Isometric View (Standard)
GCWD1006835Courtesy of CHRYSLER
Fig 3: Solenoid-Locker-Rear Wire Insertion View (Standard)
GCWD1009640Courtesy of CHRYSLER
Fig 4: Solenoid-Locker-Rear Component Location View (Standard)
GCWD1318496Courtesy of CHRYSLER
Pin Circuit Wire Color Gauge/Size Function Option
1 F946 PK/GN 0.75 FUSED IGNITION RUN/START CONTROL OUTPUT N/A
2 T527 YE/BG 0.75 REAR LOCKER SWITCH SENSE N/A
3 T538 YE/DB 0.75 LOCKER SENSOR RETURN REAR N/A
4 T528 YE/GY 0.75 REAR LOCKER RETURN N/A