LEMON Manuals: Even more car manuals for everyone: 1960-2025
Home >> Jeep >> 2021 >> Gladiator Mojave, Part Time T/Case Control, Standard Trans >> Repair and Diagnosis (Single Page) >> Quick Lookups >> Electrical Component Locations >> Connector End Views And Electrical Component Locations (2 Of 13) >> G902A (Standard) Connector End View (G902A)
April 5, 2026: LEMON Manuals is launched! Read the announcement.

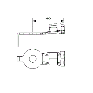
G902A (Standard) Connector End View (G902A)

Harness-Family: Battery

Color: NA

Gender: FEMALE

Part Number: R8720

Part Description: Not Available

Connector No: G902A

Option: Standard

Repair Kit Part Number: Not Available

Cavity Count: 1

Fig 1: G902a Connector End View (Standard)
GCWD1255379Courtesy of CHRYSLER
Fig 2: G902a Isometric View (Standard)
GCWD1318119Courtesy of CHRYSLER
Fig 3: G902a Component Location View (Standard)
GCWD1318937Courtesy of CHRYSLER
Pin Circuit Wire Color Gauge/Size Function Option
1 Z902 BK 35.0 GROUND N/A