LEMON Manuals: Even more car manuals for everyone: 1960-2025
Home >> Jeep >> 2021 >> Gladiator Mojave, Part Time T/Case Control, Standard Trans >> Repair and Diagnosis (Single Page) >> Quick Lookups >> Electrical Component Locations >> Connector End Views And Electrical Component Locations (6 Of 13) >> Lamp-Dome-Rear (Standard) Connector End View (D4525A)
April 5, 2026: LEMON Manuals is launched! Read the announcement.

Lamp-Dome-Rear (Standard) Connector End View (D4525A)

Harness-Family: Body

Color: BLACK

Gender: FEMALE

Part Number: 805-122-590

Part Description: Not Available

Connector No: D4525A

Option: Standard

Repair Kit Part Number: 68396618AA

Cavity Count: 4

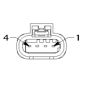
Fig 1: Lamp-Dome-Rear Connector End View (Standard)
GCWD1231522Courtesy of CHRYSLER
Fig 2: Lamp-Dome-Rear Isometric View (Standard)
GCWD1231398Courtesy of CHRYSLER
Fig 3: Lamp-Dome-Rear Wire Insertion View (Standard)
GCWD1231622Courtesy of CHRYSLER
Fig 4: Lamp-Dome-Rear Component Location View (Standard)
GCWD1319017Courtesy of CHRYSLER
Pin Circuit Wire Color Gauge/Size Function Option
1 M27 YE/BU 0.50 READING LAMPS DRIVER N/A
2 M11 YE/VT 0.35 COURTESY LAMPS DRIVER N/A
3 N0 NA 0 NO CONNECT N/A
4 Z915 BK/YE 0.35 GROUND N/A