LEMON Manuals: Even more car manuals for everyone: 1960-2025
Home >> Jeep >> 2021 >> Gladiator Mojave, Part Time T/Case Control, Standard Trans >> Repair and Diagnosis (Single Page) >> Quick Lookups >> Electrical Component Locations >> Connector End Views And Electrical Component Locations (7 Of 13) >> Module-Body Control C6/F (Standard) Connector End View (D3806F)
April 5, 2026: LEMON Manuals is launched! Read the announcement.

Module-Body Control C6/F (Standard) Connector End View (D3806F)

Harness-Family: Body

Color: NATURAL

Gender: FEMALE

Part Number: 13850165_13850160_13850161

Part Description: Not Available

Connector No: D3806F

Option: Standard

Repair Kit Part Number: 68440523AB

Cavity Count: 48

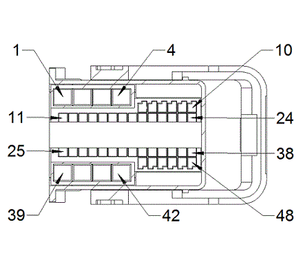
Fig 1: Module-Body Control C6/f Connector End View (Standard)
GCWD1011629Courtesy of CHRYSLER
Fig 2: Module-Body Control C6/f Isometric View (Standard)
GCWD1013376Courtesy of CHRYSLER
Fig 3: Module-Body Control C6/f Wire Insertion View (Standard)
GCWD1007516Courtesy of CHRYSLER
Fig 4: Module-Body Control C6/f Component Location View (Standard)
GCWD1319063Courtesy of CHRYSLER
Pin Circuit Wire Color Gauge/Size Function Option
1 P910 BG/GN 0.75 FRONT DRIVER DOOR UNLOCK N/A
2 P777 GN/DG 0.75 DOOR LOCK CONTROL N/A
3 P292 VT/GN 0.75 DOOR UNLOCK CONTROL N/A
4 N0 NA 0 NO CONNECT N/A
5 N0 NA 0 NO CONNECT EXCEPT EXPORT
5 L899 WH/OG 0.75 REAR FOG LAMP FEED EXPORT
6 L19 BG/WH 0.50 CARGO LAMP DRIVER N/A
7 N0 NA 0 NO CONNECT N/A
8 N0 NA 0 NO CONNECT N/A
9 G75 VT 0.35 DRIVER DOOR AJAR SWITCH SENSE N/A
10 P371 BG/BN 0.35 DOOR LOCK SW RTN DRIV N/A
11 N0 NA 0 NO CONNECT N/A
12 N0 NA 0 NO CONNECT N/A
13 N0 NA 0 NO CONNECT N/A
14 N0 NA 0 NO CONNECT N/A
15 G161 VT/DG 0.35 LEFT DOOR LOCK SWITCH STATUS N/A
16 G160 VT/GN 0.35 RIGHT DOOR LOCK SWITCH STATUS N/A
17 N0 NA 0 NO CONNECT N/A
18 N0 NA 0 NO CONNECT N/A
19 N0 NA 0 NO CONNECT N/A
20 N0 NA 0 NO CONNECT N/A
21 N0 NA 0 NO CONNECT N/A
22 N0 NA 0 NO CONNECT N/A
23 G77 VT/GY 0.35 LEFT REAR DOOR AJAR SWITCH SENSE N/A
24 P372 BG/OG 0.35 DOOR LOCK SW RTN PASS N/A
25 L551 BG/BN 0.35 LEFT FRONT LIGHTING FAULT SENSE N/A
26 N0 NA 0 NO CONNECT N/A
27 L563 WH/GY 0.35 LEFT REAR LIGHTING FAULT SENSE N/A
28 L552 BG/OG 0.35 RIGHT FRONT LIGHTING FAULT SENSE N/A
29 X3 DG/VT 0.35 HORN SWITCH SENSE N/A
30 P221 GN/BG 0.75 TAILGATE LOCK N/A
31 L562 WH/BG 0.35 RIGHT REAR LIGHTING FAULT SENSE N/A
32 L71 WH/GY 0.75 LEFT REAR PARK LAMP DRIVER N/A
33 P220 GN/WH 0.75 TAILGATE UNLOCK N/A
34 N0 NA 0 NO CONNECT BASE
34 P806 GN/WH 0.35 INVERTER STATUS INDICATOR DRIVER PREMIUM
35 P807 GN/BU 0.35 INVERTER SWITCH SIGNAL EXCEPT EXPORT
35 P827 GN/DB 0.35 INVERTER SWITCH SIGNAL EXPORT
36 N0 NA 0 NO CONNECT EXPORT
36 L655 WH/OG 0.35 LEFT REAR TURN SIGNAL CONTROL EXCEPT EXPORT
37 N0 NA 0 NO CONNECT N/A
38 N0 NA 0 NO CONNECT N/A
39 L51 WH/DG 0.75 BRAKE LAMP SWITCH OUTPUT N/A
40 L52 WH 0.75 LEFT STOP LAMP DRIVER EXPORT
40 L9 YE 0.75 LEFT STOP/TURN FEED EXCEPT EXPORT
41 L15 WH/BG 0.75 LEFT BACKUP LAMP DRIVER N/A
42 L62 WH/YE 0.75 RIGHT REAR TURN LAMP DRIVER EXPORT
42 N0 NA 0 NO CONNECT EXCEPT EXPORT
43 N0 NA 0 NO CONNECT N/A
44 N0 NA 0 NO CONNECT N/A
45 N0 NA 0 NO CONNECT N/A
46 N0 NA 0 NO CONNECT N/A
47 N0 NA 0 NO CONNECT N/A
48 N0 NA 0 NO CONNECT N/A