LEMON Manuals: Even more car manuals for everyone: 1960-2025
Home >> Jeep >> 2021 >> Gladiator Mojave, Part Time T/Case Control, Standard Trans >> Repair and Diagnosis (Single Page) >> Quick Lookups >> Electrical Component Locations >> Connector End Views And Electrical Component Locations (8 Of 13) >> Module-Occupant Restraint Controller C1 (Standard) Connector End View (D3834A)
April 5, 2026: LEMON Manuals is launched! Read the announcement.

Module-Occupant Restraint Controller C1 (Standard) Connector End View (D3834A)

Harness-Family: IP

Color: YELLOW

Gender: FEMALE

Part Number: 33380852_13938271

Part Description: Not Available

Connector No: D3834A

Option: Standard

Repair Kit Part Number: 68496363AB

Cavity Count: 24

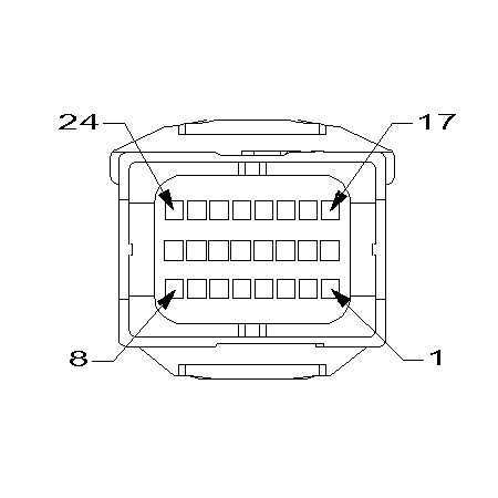
Fig 1: Module-Occupant Restraint Controller C1 Connector End View (Standard)
GCWD1238468Courtesy of CHRYSLER
Fig 2: Module-Occupant Restraint Controller C1 Isometric View (Standard)
GCWD1318250Courtesy of CHRYSLER
Fig 3: Module-Occupant Restraint Controller C1 Wire Insertion View (Standard)
GCWD1319107Courtesy of CHRYSLER
Fig 4: Module-Occupant Restraint Controller C1 Component Location View (Standard)
GCWD1318665Courtesy of CHRYSLER
Pin Circuit Wire Color Gauge/Size Function Option
1 R61 GN/VT 0.75 DRIVER SQUIB 2 LINE 2 EXCEPT EXPORT
1 N0 NA 0 NO CONNECT EXPORT
2 R63 DB/WH 0.75 DRIVER SQUIB 2 LINE 1 EXCEPT EXPORT
2 N0 NA 0 NO CONNECT EXPORT
3 R45 GN/OG 0.75 DRIVER SQUIB 1 LINE 1 N/A
4 R43 BU/BN 0.75 DRIVER SQUIB 1 LINE 2 N/A
5 R42 DG/BN 0.50 PASSENGER SQUIB 1 LINE 2 N/A
6 R44 GY/OG 0.50 PASSENGER SQUIB 1 LINE 1 N/A
7 R64 VT/WH 0.50 PASSENGER SQUIB 2 LINE 1 N/A
8 R62 BU/VT 0.50 PASSENGER SQUIB 2 LINE 2 N/A
9 F201 PK/OG 0.75 FUSED IGNITION RUN/START CONTROL OUTPUT N/A
10 R41 BU/OG 0.75 AIRBAG DEPLOYMENT SIGNAL EMERGENCY RESPONSE
10 N0 NA 0 NO CONNECT EXCEPT EMERGENCY RESPONSE
11 R81 BU/WH 0.75 LEFT FRONT IMPACT SENSOR GROUND N/A
12 R79 BU/VT 0.75 LEFT FRONT IMPACT SENSOR SIGNAL N/A
13 R80 VT/BU 0.75 RIGHT FRONT IMPACT SENSOR SIGNAL N/A
14 R82 WH/BU 0.75 RIGHT FRONT IMPACT SENSOR GROUND N/A
15 D11 YE/DB 0.35 CAN C (+) N/A
16 D12 YE 0.35 CAN C (-) N/A
17 F100 PK/VT 0.75 FUSED IGNITION RUN CONTROL OUTPUT N/A
18 R168 GN/WH 0.50 AIRBAG OFF LAMP PASSENGER N/A
19 Z913 BK 0.50 GROUND N/A
20 N0 NA 0 NO CONNECT EXCEPT EXPORT
20 R167 DB 0.50 AIRBAG ON LAMP PASSENGER EXPORT
21 N0 NA 0 NO CONNECT EXPORT
21 R67 GY/OG 0.75 DRIVER SQUIB 3 LINE 2 EXCEPT EXPORT
22 R69 GN/YE 0.75 DRIVER SQUIB 3 LINE 1 EXCEPT EXPORT
22 N0 NA 0 NO CONNECT EXPORT
23 R68 BU/YE 0.50 PASSENGER SQUIB 3 LINE 1 EXCEPT EXPORT
23 N0 NA 0 NO CONNECT EXPORT
24 N0 NA 0 NO CONNECT EXPORT
24 R66 GY/DG 0.50 PASSENGER SQUIB 3 LINE 2 EXCEPT EXPORT