LEMON Manuals: Even more car manuals for everyone: 1960-2025
Home >> Jeep >> 2021 >> Gladiator Mojave, Part Time T/Case Control, Standard Trans >> Repair and Diagnosis (Single Page) >> Quick Lookups >> Wiring Diagrams >> Connector End Views And Electrical Component Locations (8 Of 13) >> Module-Inverter C2 (Standard) Connector End View (D3920B)
April 5, 2026: LEMON Manuals is launched! Read the announcement.

Module-Inverter C2 (Standard) Connector End View (D3920B)

Harness-Family: IP

Color: BLACK

Gender: FEMALE

Part Number: 6098-4607

Part Description: Not Available

Connector No: D3920B

Option: Standard

Repair Kit Part Number: 68499272AA

Cavity Count: 6

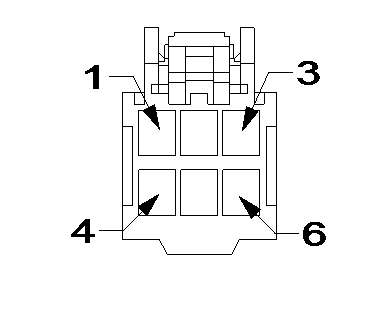
Fig 1: Module-Inverter C2 Connector End View (Standard)
GCWD1082055Courtesy of CHRYSLER
Fig 2: Module-Inverter C2 Isometric View (Standard)
GCWD1092612Courtesy of CHRYSLER
Fig 3: Module-Inverter C2 Wire Insertion View (Standard)
GCWD1009371Courtesy of CHRYSLER
Fig 4: Module-Inverter C2 Component Location View (Standard)
GCWD1318443Courtesy of CHRYSLER
Pin Circuit Wire Color Gauge/Size Function Option
1 P810 BG 0.80 AC VOLTAGE LINE 3 N/A
2 N0 NA 0 NO CONNECT N/A
3 P824 GN 1.0 220 VOLT AC LINE 1 220VAC INVERTER
3 P801 GN 1.0 115 VOLT AC LINE 1 110VAC INVERTER
4 P811 BG/OG 0.80 AC VOLTAGE LINE 4 N/A
5 N0 NA 0 NO CONNECT N/A
6 P802 GN/OG 1.0 115 VOLT AC LINE 2 110VAC INVERTER
6 P828 GN/OG 1.0 220 VOLT AC LINE 2 220VAC INVERTER