LEMON Manuals: Even more car manuals for everyone: 1960-2025
Home >> Jeep >> 2021 >> Gladiator Mojave, Part Time T/Case Control, Standard Trans >> Repair and Diagnosis (Single Page) >> Transmission >> Manual Transmission (Service Information) >> Technical Specifications >> General Specifications >> Control Cover
April 5, 2026: LEMON Manuals is launched! Read the announcement.

Control Cover

CONTROL COVER

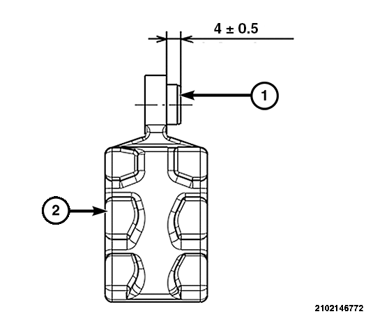
INDEX DEPTH
1. Bearing 11mm (0.43in)
2. Pin 14.1mm (0.55in)
3. Seal 1.5mm (0.05in)
GC0181638Courtesy of CHRYSLER GROUP, LLC