LEMON Manuals: Even more car manuals for everyone: 1960-2025
Home >> Jeep >> 2021 >> Grand Cherokee Trackhawk >> Repair and Diagnosis >> Transmission >> Automatic Trans >> Cooling System >> Engine >> Radiator, Engine Cooling >> Installation >> Gas
April 5, 2026: LEMON Manuals is launched! Read the announcement.

Radiator, Engine Cooling: Installation: Gas

CAUTION:

Before installing the radiator or A/C condenser, be sure the radiator-to-body and radiator-to-A/C condenser rubber air seals are properly fastened to their original positions. These are used at the top, bottom and sides of the radiator and A/C condenser. To prevent overheating, these seals must be installed to their original positions.

GC0118284Courtesy of CHRYSLER GROUP, LLC
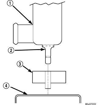
  1. Gently lower the radiator (1) into the vehicle. Guide the two radiator rubber air seals into the lower radiator support.
    CAUTION:

    The tangs on the hose clamps must be positioned straight down.

  2. Install the lower radiator hose to the lower radiator outlet.
  3. Install the cooling fan assembly. Refer to FAN, COOLING, INSTALLATION .
  4. Install the coolant reserve/overflow tank hose at the radiator.
  5. Install the upper radiator hose.
    GC0145632Courtesy of CHRYSLER GROUP, LLC
  6. Install the upper radiator crossmember. Align the upper radiator alignment dowel into the upper isolators.
  7. Install the A/C condenser. Refer to CONDENSER, A/C, INSTALLATION .
  8. Refill the cooling system. Refer to COOLANT SYSTEM AIR EVACUATION  .
  9. Connect the battery cable at the battery.
  10. Start and warm the engine. Check for leaks.