LEMON Manuals: Even more car manuals for everyone: 1960-2025
Home >> Jeep >> 2024 >> Gladiator Nighthawk, Part Time T/Case Control, Automatic Trans >> Repair and Diagnosis (Single Page) >> Transmission >> Manual Trans >> Manual Transmission (Service Information) >> Technical Specifications >> General Specifications
April 5, 2026: LEMON Manuals is launched! Read the announcement.

General Specifications

GEAR RATIOS

GEAR RATIO
FIRST 5.133
SECOND 2.631
THIRD 1.536
FOURTH 1.00
FIFTH 0.811
SIXTH 0.719
REVERSE 4.491

INSTALLATION DEPTHS 

GC0182308Courtesy of CHRYSLER GROUP, LLC
FRONT INPUT SEAL

ITEM DEPTH
1. 11mm (0.43in)
GC0182937Courtesy of CHRYSLER GROUP, LLC
REAR OUTPUT SEAL

ITEM DEPTH
1. 1mm (0.04in)
GC0182136Courtesy of CHRYSLER GROUP, LLC
FRONT CASE

ITEM DEPTH
1. 7mm (0.28in)
2. 10.45mm (0.41in)
3. -
4. 3.5mm (0.14in)
5. 2.5mm (0.09in)
6. 1.1mm (0.04in)
7. 12.8mm (0.50in)
8. 47.6mm (1.87in)
GC0181416Courtesy of CHRYSLER GROUP, LLC
FRONT CASE

ITEM DEPTH
9. 76.3mm (3.00in)
10. 1.5mm (0.05in)
GC0182975Courtesy of CHRYSLER GROUP, LLC
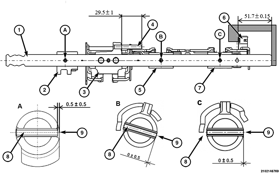
ROLL PINS

INDEX DEPTH
1. Shift Select Shaft 11mm (0.43in)
2. Reverse Lever 11mm (0.43in)
3. 1st/2nd Lever 11mm (0.43in)
4. Pin 11mm (0.43in)
5. 5th/6th Lever 11mm (0.43in)
6. Magnet 11mm (0.43in)
7. 3rd/4th Lever 11mm (0.43in)
8 A. Pin 0.5mm (0.01in)
8 B. Pin 0mm (0in)
8 C. Pin 0mm (0in)
9. Installation Direction -
GC0183249Courtesy of CHRYSLER GROUP, LLC
REVERSE FORK PIN

INDEX DEPTH
1. Shift Select Shaft 0mm (0in)
GC0182031Courtesy of CHRYSLER GROUP, LLC
CONTROL COVER

INDEX DEPTH
1. Bearing 11mm (0.43in)
2. Pin 14.1mm (0.55in)
3. Seal 1.5mm (0.05in)
GC0181638Courtesy of CHRYSLER GROUP, LLC
GUIDE PLATE PIN

INDEX DEPTH
1. Pin 4mm (0.15in)
2. Guide Plate -
GC0182662Courtesy of CHRYSLER GROUP, LLC
REAR CASE

INDEX DEPTH
1. Holder -
2. Contact Point -
3. Bushing 2.5mm (0.09in)
4. Bearing 1.5mm (0.05in)