LEMON Manuals: Even more car manuals for everyone: 1960-2025
Home >> Kia >> 2001 >> Spectra GSX L4-1.8L >> Repair and Diagnosis >> Powertrain Management >> Computers and Control Systems >> Main Relay (Computer/Fuel System) >> Testing and Inspection
April 5, 2026: LEMON Manuals is launched! Read the announcement.

Main Relay (Computer/Fuel System): Testing and Inspection

Inspection
1. Remove cover from main fuse block.
2. Place a finger on main relay.




3. Verify that relay clicks when ignition switch is turned ON.
4. Verify that main relay clicks when ignition switch is turned ON and OFF.
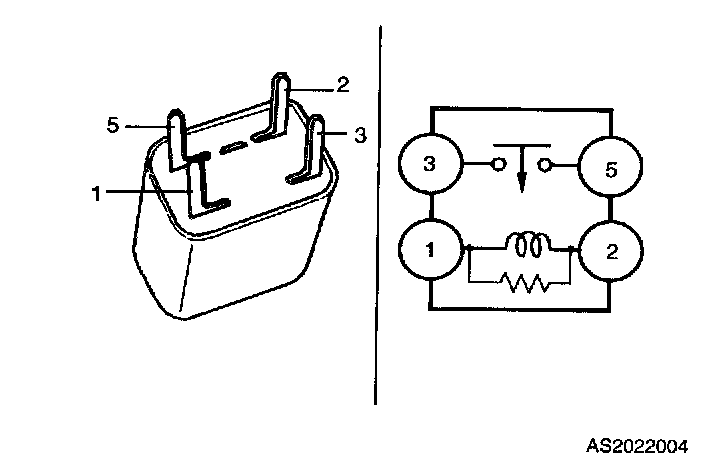
5. Apply battery voltage (B+) to terminal 3 and ground terminal 5 of the relay.




6. Check continuity of relay as shown.
7. If not as specified, replace main relay.
8. Turn ignition switch OFF.




9. Replace the cover on main fuse block.