LEMON Manuals: Even more car manuals for everyone: 1960-2025
Home >> Kia >> 2002 >> Rio L4-1.5L >> Repair and Diagnosis >> Specifications >> Electrical Specifications >> Alternator
April 5, 2026: LEMON Manuals is launched! Read the announcement.

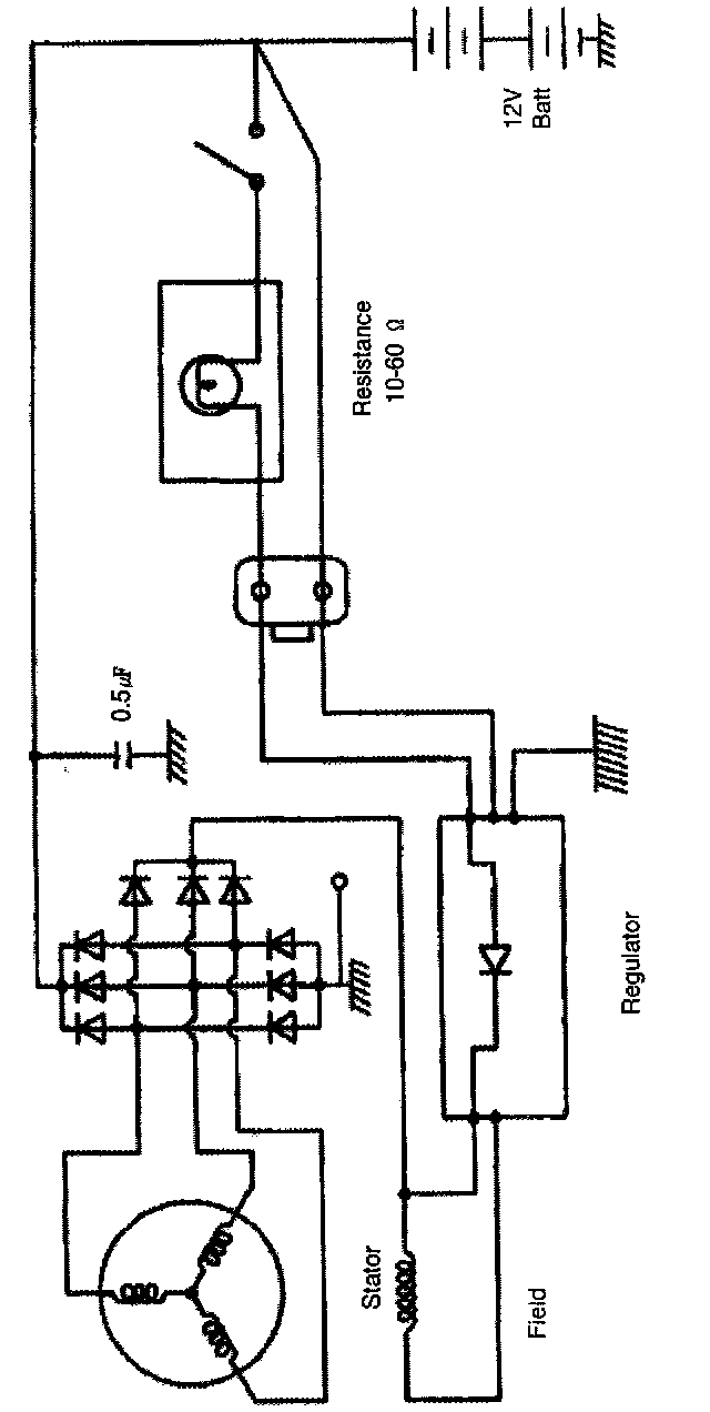
Alternator

Specifications:



Circuit Diagram: