LEMON Manuals: Even more car manuals for everyone: 1960-2025
Home >> Kia >> 2003 >> Rio Base, Automatic >> Repair and Diagnosis (Single Page) >> Body & Frame >> Body, Cab Control Systems >> Electronic Time & Alarm Control System >> Electronic Time And Alarm Control Module >> Inspection >> ETACS Function
April 5, 2026: LEMON Manuals is launched! Read the announcement.

ETACS Function

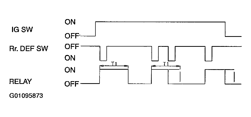
  1. Rear window defogger and side mirror defogger.
    Fig 1: Rear Window & Side Mirror Defogger Function Chart
    G01095873Courtesy of KIA MOTORS AMERICA, INC.

    Time specification:

    T1: 6+/-3

  2. Seat belt warning:

    T1: 6 +/- 1.5 sec.

    Fig 2: Seat Belt Warning Function Chart
    G01095874Courtesy of KIA MOTORS AMERICA, INC.
  3. Burglar alarm:
    1. Horn operates ON/OFF for 0.5 second while it is armed.
    2. Arm/disarm is operated by only the remote keyless entry.
    3. If any of entrances aren't opened for 30 second in disarm state.

      If will generate the door lock output, and it is armed.

    4. Upon receiving the TX lock signal in the arm state, it doesn't generate lock output signal, but it generates the hazard lamp output 1 time for 1 second.
    5. Upon receiving the TX unlock signal in the disarm state, it generates unlock output signal, hazard lamp output twice.
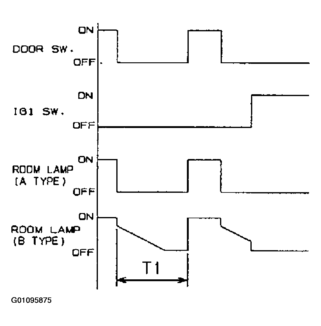
  4. Delayed room lamp:

    Time specification

    T1: 4-5 sec.

    T2: 20 +/- 5 min.

    Fig 3: Decayed Room Lamp Function Chart
    G01095875Courtesy of KIA MOTORS AMERICA, INC.
    1. Upon the door open with the keyless switch OFF, the room lamp turns on for T2.

      The room lamp declines to 75% at once when the door close.

    2. Upon the door switch OFF with the ACC is OFF the room lamp declines 75% to 0% for T1.

      Upon the door switch OFF with the ACC is ON the room lamp turns on for T1.

  5. Ignition key reminder.
    Fig 4: Ignition Key Reminder Function Chart
    G01095876Courtesy of KIA MOTORS AMERICA, INC.
  6. Battery saver.
    Fig 5: Battery Saver Function Chart
    G01095877Courtesy of KIA MOTORS AMERICA, INC.
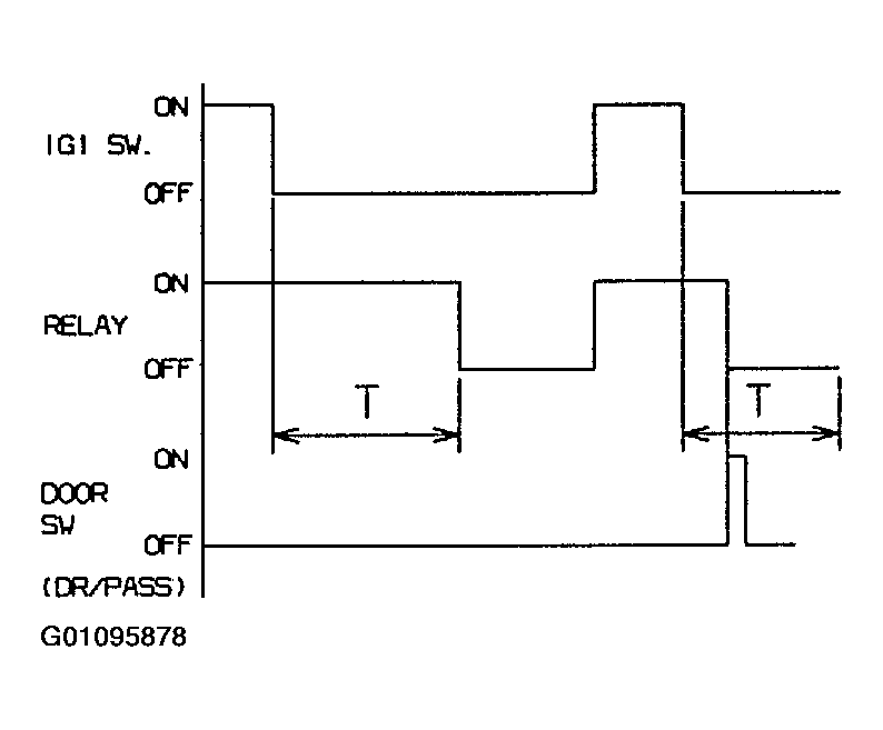
  7. Power window timer:

    Time specification:

    T: 30 +/- 5 sec.

    Fig 6: Power Window Timer Function Chart
    G01095878Courtesy of KIA MOTORS AMERICA, INC.
  8. Lighter ajar:

    Alarm occurs while the door opened when the TNS switch is ON and IG switch is ON.

    Fig 7: Lighter Ajar Function Chart
    G01095879Courtesy of KIA MOTORS AMERICA, INC.
  9. Central door lock / unlock:
    Fig 8: Central Door Lock / Unlock Function Chart
    G01095880Courtesy of KIA MOTORS AMERICA, INC.
  10. Key reminder unlock:

    Time specification:

    T1: less than 0.1 sec

    T2: 1.0 sec.

    T3: 0.5 sec.

    T4: Max 0.5 sec.

    Fig 9: Key Reminder Unlock Function Chart
    G01095881Courtesy of KIA MOTORS AMERICA, INC.
  11. Remote keyless entry system
    1. Door lock:

      Time specification:

      T1: 1.0 +/- 0.2 sec.

      Fig 10: Remote Keyless Entry System Function Chart
      G01095882Courtesy of KIA MOTORS AMERICA, INC.
    2. Door unlock:

      Time specification:

      T1: 1.0 +/- 0.2 sec.

      Fig 11: Door Unlock Function Chart
      G01095883Courtesy of KIA MOTORS AMERICA, INC.
  12. Remote keyless entry code saving.
    Fig 12: Identifying Remote Keyless Entry Control Unit
    G01095884Courtesy of KIA MOTORS AMERICA, INC.
    1. Store the transmitter code by using Hi-scan pro.
      Fig 13: Store The Transmitter Code By Using Hi-Scan Pro Process Chart
      G01095885Courtesy of KIA MOTORS AMERICA, INC.
    2. Connector pin arrangement.
      Fig 14: Remote Keyless Entry Connector Pinout
      G01095886Courtesy of KIA MOTORS AMERICA, INC.