LEMON Manuals: Even more car manuals for everyone: 1960-2025
Home >> Kia >> 2006 >> Amanti V6-3.5L >> Repair and Diagnosis >> Powertrain Management >> Relays and Modules - Powertrain Management >> Relays and Modules - Computers and Control Systems >> Body Control Module >> Description and Operation >> Description
April 5, 2026: LEMON Manuals is launched! Read the announcement.

Description

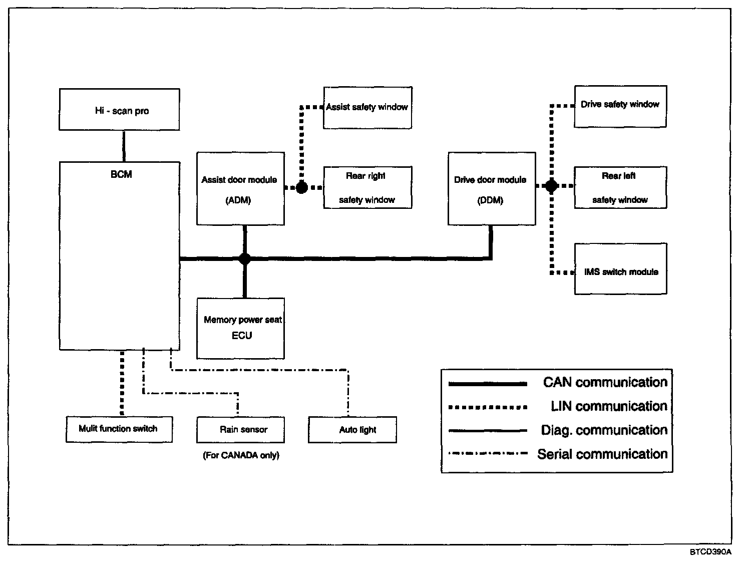
Communication Block Diagram:






DESCRIPTION

Body control module (BCM) unifies the function of ETACS module, immobilizer unit, flasher unit, door lock relay, chime and keyless entry antenna.
BCM can be diagnosed with Hi-scan pro.

THE DESCRIPTION OF THE COMMUNICATION

The Amanti system is comprised by 4 ECUs applied CAN (Controller Area Network) communication which is a serial communications. They are BCM (Body Control Module), Drive door module(DDM), Assist door module(ADM) and Power Seat ECU.

The LIN (Local Interconnect Network) is a serial communications that efficiently supports the control of mecha-tronics nodes in distributed automotive applications. It is applied from Power window Switch to four SPW (Safety Power Window), Switch Module, BCM and Multi Function Switch. As the result, the high speed communication is set up by CAN and the low speed communication is set up by LIN. Additionally for diagnosing entire system, Hi-SCAN network is set up. This diagnosis communication can diagnose the condition (including actuator, switch, communication status) of each module which is connected to CAN system.