LEMON Manuals: Even more car manuals for everyone: 1960-2025
Home >> Kia >> 2007 >> Rondo L4-2.4L >> Repair and Diagnosis >> Body and Frame >> Body Control Systems >> Body Control Module >> Testing and Inspection >> Component Tests and General Diagnostics
April 5, 2026: LEMON Manuals is launched! Read the announcement.

Component Tests and General Diagnostics

INSPECTION

1. FRONT WASHER INTERLOCKING WIPER CONTROL
1. In state of IGN2 SWITCH ON, when FRONT WASHER SWITCH is ON for more than T4 s (0.6 s), then after T5 s (0.3 s), WIPER output is ON, and after WASHER SWITCH is OFF and WIPER output is ON for T6 (3 s, the time for operating WIPER 2-3 times), and then WIPER output is OFF.
2. In state of IGN2 SWITCH ON, when FRONT WASHER SWITCH is ON for T2 (0.2 - 0.6 s), then after T5 (0.3 s), WIPER output is OFF after WIPER output is ON for T3 (0.7 s).
3. The operation of WASHER INTERLOCKING WIPER shall be prior to the INT WIPER function. (By INT SWITCH, if WASHER SWITCH is ON for more than T4 during WIPER operation, perform (1) term's operation , and if ON for T2, perform (2) term's operation.)
4. On start (in state of IGN1 SWITCH ON & IGN2 SWITCH OFF), ignore WASHER SWITCH input
5. Ignore WASHER SWITCH input generated during WASHER WIPER operation, and after operating WASHER WIPER, adopt WASHER SWITCH input first.




6. The state of WASHER SWITCH is decided by the voltage of BCM input end




2. VEHICLE SPEED SENSITIVE TYPE INTERVAL WIPER
In IGN2 ON State, if Wiper INTERVAL SWITCH input is on, then T1 and T2 of Wiper Enable Relay is generated by INTERVAL VOLUME
- If the variance of basic interval time is less then 0.3 sec, the interval time is not changed
- Calculate the interval time that coused by vehicle speed, by INTERVAL VOLUME of "0 km/h" regardless of input speed Interval time is in linear proportion to INTERVAL VOLUME.

INTERVAL TIME : MIN 2.2 ± 0.2 s (INTERVAL resister : 0 kohms)

MAX 10 ± 1 s (INT resister : 50 kohms)

3. MIST INTERLOCKING WIPER




1. In IGN2 SW ON, if the MIST SW is ON for 60 ms or more, within 100 ms, and then, wiper output shall be ON for 700 ms within 100 ms.




2. If MIST SW input is continued, WIPER output shall be maintain the ON state, and then if MIST SW is OFF, the Wiper output shall be ON for 700 ms from OFF time.

4. REAR WASHER INTERLOCKING WIPER CONTROL
1. In state of IGN2 SWITCH ON, when REAR WASHER SWITCH is ON for more than T1 s (0.2 s), then after T2 s (0.3 s), WIPER output is ON, and after WASHER SWITCH is OFF and WIPER output is ON for T3 (3 s, the time for operating WIPER 2-3 times), and then WIPER output is OFF.
2. The operation of WASHER INTERLOCKING WIPER shall be prior to the INTERVAL WIPER function.
3. On start(in state of IGN1 SWITCH ON & IGN2 SWITCH OFF), ignore WASHER SWITCH input.
4. Ignore WASHER SWITCH input generated during WASHER WIPER operation, and after operating WASHER WIPER, adopt WASHER SW input first.




5. The state of WASHER SW is decided by the voltage of BCM input end.

5. BUZZER SOUND







1. BUZZER sound SPEC
2. Priority order : SEAT BELT WARNING (SBR) > OVER SPEED WARNING > PARKING START WARNING > DOOR AJAR driving alarm (KEY OPERATED WARNING is engaged when IGN1 SW is OFF)
3. When the output is OFF, keep the output to OFF cycle
4. The distance for measuring the sound pressure : 1.0 m

6. SEAT BELT WARNING TIMER
1. When IGN1 ON & S/BELT is not wearing, WARNING INDICATOR is blinking as cycle of 0.6 s and BUZZER is outputting as cycle of is for 6 s.
2. When IGN1 SWITCH is OFF during OUTPUT, SEAT BELT WARNING INDICATOR and BUZZER shall stop the output immediately.
3. When SEAT BELT is wearing during the warning light or alarm output, STOP the output of BUZZER except INDICATOR.
4. When IGN ON during wearing S/BELT, don't output BUZZER and WARNING IND is blinking as cycle of 0.6 s for 6 s.




5. In sate of IGN1 SWITCH ON, after wearing SEAT BELT and then removing, WARNING INDICATOR is blinking as cycle of 0.6 s and BUZZER is outputting according to (1), (2), (3).

7. SEAT BELT REMINDER

Driver Side (Part 1):




Driver Side (Part 2):




Driver Side (Part 3):




- DRIVER SIDE

Assistant Side (Part 1):




Assistant Side (Part 2):




Assistant Side (Part 3):




- ASSISTANT SIDE

8. KEY OPERATED WARNING
1. In state of KEY IN SW ON or ACC SW ON, when opening DRIVER DOOR, output CHIME BUZZER continuously as 0.6 s cycles.




2. During CHIME BUZZER output, in case of IGN1 SW ON or DOOR CLOSE or (KEY IN SW OFF & ACC SW OFF) state, OFF the output.

9. PARKING START WARNING
1. In state of IGN1 SW ON or PARKING BRAKE engaged, when the vehicle speed is keeping more than 10 Km/h, output the CHIME BUZZER continuously as is cycle of 0.3 s (ON) and 0.7 s (OFF).




2. After the vehicle speed is keeping more than 10 Km/h, when engaging PARKING BRAKE, output CHIME BUZZER immediately.

10. REAR DEFOGGER TIMER
1. In state of IGN1 SWITCH ON, after ALT "L" is ON and then DEFOGGER SWITCH is ON, ON the output of DEFOGGER for 20 min. (operate in state of ENGINE RUNNING)
2. During DEFOGGER output ON, when DEFOGGER SWITCH is ON, OFF the output of DEFOGGER.
3. During DEFOGGER output ON, when ALT "L" is OFF or IGN1 SWITCH is OFF, OFF the output of DEFOGGER.




4. The decision of inputting ALT "L" shall be complied with the table




5. In state of DEFOGGER SWITCH ON, When ALT "L" is ON Then DEFOGGER RELAY don't output.

11. FRONT DEICER TIMER
1. In state of IGN1 SW ON, after ALT "L" is ON and then DEICER SW is ON, ON the output of DEFOGGER for 20 min. (operate in state of ENGINE RUNNING)
2. During DEICER output ON, when DEICER SW is ON, OFF the output DEICER
3. During DEICER output ON, when ALT "L" is OFF or IGN1 SW is OFF, OFF the output of DEICER




4. The decision of inputting ALT "L" shall be compiled with the table.




5. In state of DEICER SW ON, When ALT "L" is ON Then DEICER RLY don't output.

12. POWER WINDOW TIMER
1. In state of IGN1 SWITCH ON, ON the output of POWER WINDOW.
2. In state of IGN1 SWITCH OFF, keep the output for 30 s and then OFF the output.
3. In terms of (2), in case of Driver or Assistant seat DOOR is OPEN, OFF the output immediately.




4. In state of Driver or Assistant seat DOOR is OPEN, in case of IGN1 SWITCH OFF, OFF the output of POWER WINDOW.
















13. DECAYED ROOM LAMP
1. In case of 4 DOOR OPEN, start from Room Lamp on 20 min State first.
2. In case of 4 DOOR CLOSE, start from Room Lamp off State first.

14. IGN KEY HOLE ILLUMINATION
1. In state of IGN1 SWITCH OFF, in case of driver's DOOR (or assistant's) OPEN, ON the light of IGN KEY HOLE.
2. In state of (1) term, in case of driver's DOOR (or assistant's) CLOSE, ON the light of IGN KEY HOLE for 30 s and then OFF the light.
3. During (1) and (2), in case of IGN1 SWITCH is inputting, OFF the light of IGN KEY HOLE immediately.




4. But, in case of TRANSMITTER LOCK, ON the output of LOCK and after checking ACTUATOR LOCK and all DOOR CLOSE, and then OFF the light of IGN KEY HOLE immediately.

15. LAMP AUTO CUT (TAIL ONLY)
1. After KEY IN SWITCH is ON, in case of TAIL LAMP SWITCH ON, OFF the KEY IN SWITCH, and when opening the drivers DOOR, TURN OUT the TAIL LAMP automatically.
And, in state of KEY IN SWITCH ON, after the driver's seat DOOR is OPEN, in case of KEY IN SWITCH OFF, TURN OUT the TAIL LAMP automatically.

2. After the automatic blackout, in case of TAIL LAMP SWITCH is OFF and then ON, TURN ON the TAIL LAMP and release the AUTO CUT function.
3. After the automatic blackout, in case of KEY IN SWITCH ON, TURN ON the TAIL LAMP and release the AUTO CUT function.




4. When connecting and disconnecting BATT. in state of AUTO CUT MODE, keep the AUTO CUT MODE.

16. CENTRAL DOOR LOCK/UNLOCK
1. In case of Driver's seat/Assistant's seat DOOR KEY LOCK SWITCH is ON, ON the output of ALL DOOR LOCK for T1 .
But, In case of KEY IN and IGN1 SW ON, prohibit the output.

2. In case of Driver's seat/Assistant's seat DOOR KEY UNLOCK SWITCH is ON, ON the output of ALL DOOR UNLOCK for T1.
3. In case of receiving TRANSMITTER LOCK signal, ON the output of ALL DOOR LOCK for T1.
4. In case of receiving TRANSMITTER UNLOCK signal, ON the output of ALL DOOR UNLOCK for T1.
5. When P/W LOCK SWITCH is LOCK, ON the output of ALL DOOR LOCK for T1.
6. When P/W UNLOCK SWITCH is UNLOCK, ON the output of ALL DOOR UNLOCK for T1.
7. LOCK/UNLOCK by SAFETY KNOB shall be noninterlocking. (mechanical operation)
8. In case of connecting BATTERY, it shall be no failure. (In state of KEY IN SWITCH ON, it shall be no failure.)
9. The input less than 60 msec shall be ignored. (KEY LOCK / UNLOCK SWITCH)
10. In state of SAFETY KNOB LOCK, when receiving LOCK signal by TRANSMITTER, KEY, POWER WINDOW SWITCH, output LOCK.
(In state of KNOB UNLOCK, when receiving UNLOCK signal by TRANSMITTER, KEY, POWER WINDOW SWITCH, output UNLOCK.)







11. During LOCK output, when receiving LOCK signal by TRANSMITTER, KEY, POWER WINDOW SWITCH, Don't output LOCK.
(During UNLOCK output, when receiving UNLOCK signal by TRANSMITTER, KEY, POWER

17. 2-TURN UNLOCK
1. After the driver's seat KEY UNLOCK SW is changed from OFF to ON (mechanically, the driver's seat DOOR LOCK SW is UNLOCK and BCM is not outputting.) and the driver's seat KEY UNLOCK SW is changed from OFF to ON within T1, ON the output of all driver's seat DOOR UNLOCK for T2.
2. After the driver's seat KEY UNLOCK SW is changed from OFF to ON (mechanically, the driver's seat DOOR LOCK SW is UNLOCK and BCM is not outputting.) and receiving TX UNLOCK within T1, ON the output of all DOOR UNLOCK for T2.
3. In case of receiving TX UNLOCK signal, when DRIVER DOOR UNLOCK output is ON for T2 and receiving TX UNLOCK within T1, ON the output of all DOOR UNLOCK for T2.
4. After receiving TX UNLOCK and DRIVER KEY UNLOCK SW is changed from OFF to ON within T1, ON the output of all DOOR UNLOCK for T2.
5. Even if receiving the other TX signal registered within T1, regard it as the same TX. LOCK/UNLOCK by SAFETY KNOB shall be noninterlocking. (mechanical operation.)
6. LOCK/UNLOCK by SAFETY KNOB shall be non-interlocking. (mechanical operation.)







7. During UNLOCK output on the initial driver's seat by TX, in case of inputting re-UNLOCK signal by TX, KEY, the output of driver's seat UNLOCK shall be ON for the remained time only and the rest DOOR UNLOCK output shall be ON normally.

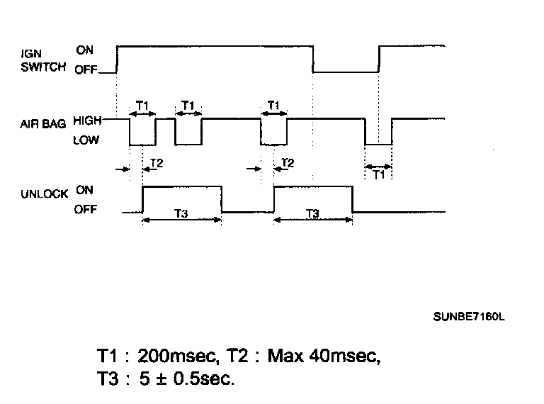
18. CRASH DOOR UNLOCK
1. In state of IG1 SWITCH is ON, whenever inputting AIR BAG signal, output UNLOCK for T3.
2. During UNLOCK output, even if IGN SWITCH is changed from ON to OFF, UNLOCK output shall be kept for the remained time.
3. After inputting AIR BAG signal first, and then IGN1 SWITCH is changed from OFF to ON, don't output UNLOCK.
4. The AUTO DOOR LOCK function is not performed in the CRASH UNLOCK condition.
5. The CONTROL DOOR LOCK function is not performed during the CRASH UNLOCK output or after it. But, after the IGN is OFF, if the crash unlock function is reset, the CTRL DOOR LOCK function is normally performed.




6. The CRASH DOOR UNLOCK function is prior to the LOCK/UNLOCK control by the other functions.