LEMON Manuals: Even more car manuals for everyone: 1960-2025
Home >> Kia >> 2007 >> Rondo L4-2.4L >> Repair and Diagnosis >> Powertrain Management >> Ignition System >> Spark Plug >> Testing and Inspection
April 5, 2026: LEMON Manuals is launched! Read the announcement.

Spark Plug: Testing and Inspection

SPARK PLUG INSPECTION




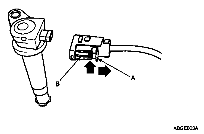
1. Remove the ignition coil connector(A).




2. Remove the ignition coil(A).






NOTE: When removing the ignition coil connector, pull the lock pin(A) and push the clip(B).

3. Using a spark plug socket, remove the spark plug.

CAUTION: Be careful that no contaminates enter through the spark plug holes.




Inspection Of Electrodes:




4. Inspect the electrodes(A) and ceramic insulator(B).




5. Check the electrode gap (A).

Standard : 1.0 - 1.1 mm (0.0394 - 0.0433 in.)